ABLIC S-34C04A 2-Wire Serial EEPROM
ABLIC S-34C04A 2-Wire Serial EEPROM is designed for Dual In-line Memory Module (DIMM) serial presence detection and operates in the 1.7V to 3.6V voltage range. This EEPROM features 4Kb memory capacity and the organization of 2 pages × 256-word × 8-bit. The S-34C04A EEPROM comes with page write and sequential read. This EEPROM operates with the I2C-bus at 1MHz maximum operating frequency. ABLIC S-34C04A EEPROM provides individual software data protection for each of the 4 128-byte blocks.Features
- DIMM serial presence detect
- Page write and sequential read available
- Write protect function during low power supply voltage
- 1.7V to 3.6V voltage range
- 4Kb memory capacity
- Operating Frequency
- 1MHz (max) at VDD = 2.2V to 3.6V
- 400kHz (max) VDD = 1.7V to 3.6V
- DFN-8(2030)A package
- Page write of 16-bytes/page
- 106 cycle/word endurance at Ta=+25°C
- FFh initial delivery state
- 100-years of data retention at Ta=+25°C
- Schmitt trigger and noise filter on input pins (SCL and SDA)
- -20°C to +125°C operating temperature range
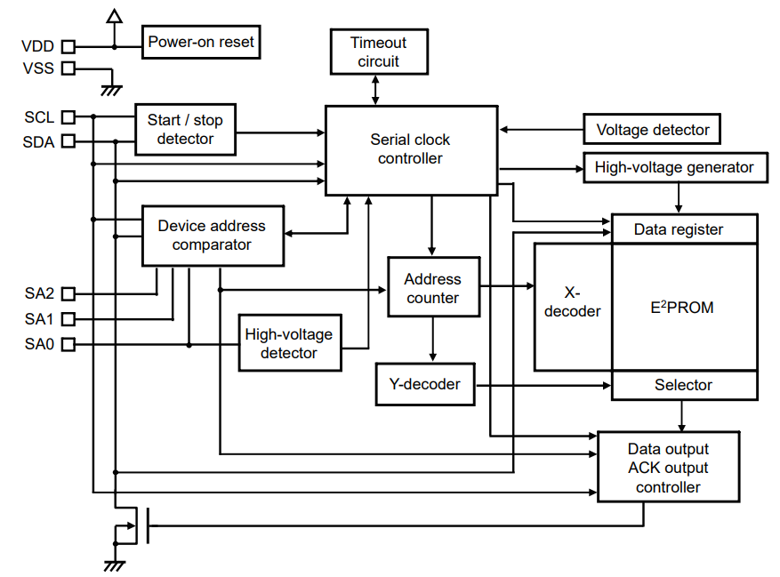
Block Diagram
Additional Resource
發佈日期: 2020-07-16
| 更新日期: 2024-03-19
