ABLIC S-35710/20 Automotive Convenience Timers
ABLIC S-35710/20 Automotive Convenience Timers offer low current consumption and a wide 1.8V to 5.5V operation voltage. The timers have a built-in 32.768kHz crystal oscillation circuit, and an alarm interrupt function settable on the second time scale from 1 second to 194 days. The lead-free ABLIC S-35710/20 automotive convenience timers are ideal for time management of various systems during the sleep period.Features
- 1.8V to 5.5V Wide range of operation voltage
- Built-in 32.768kHz crystal oscillation circuit
- Alarm interrupt function
- S-35710 Series - Settable on the second time scale from 1 second to 194 days (Approximately half a year)
- S-35720 Series - Settable interrupt time Selectable as the option on the second time scale from 1 second to 194 days (Approximately half a year)
- 2-wire (I2C-bus) CPU interface (S-35710M A, S-35710 A, S-35710)
- Low current consumption
- 0.25μA typ. (S-35710M A)
- 0.2μA typ. (S-35710 A, S-35720 A, S-35710)
- Operation temperature range
- Ta = −40°C to +85°C (S-35710)
- Ta = −40°C to +125°C (S-35710M A, S-35710 A, S-35720 A)
- AEC-Q100 qualified (S-35710 A, S-35720 A)
- AEC-Q100/Q200 qualified (S-35710M A)
- Lead-free (Sn 100%), halogen-free
Applications
- Time management for regular surveillance of fuel vaporization status (e.g., fuel injection system)
- Time management for regular surveillance of battery status (e.g., BMS)
- Time management during various system sleep periods (engine shutdown)
- IoT communications device
- Alarm management for equipment replacement and an end-of-service life
- Monitoring device
- Security device
- Battery system
- Energy harvesting system
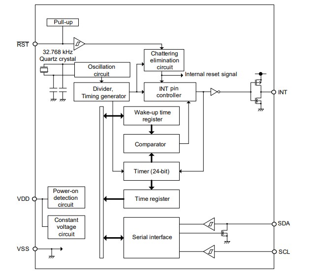
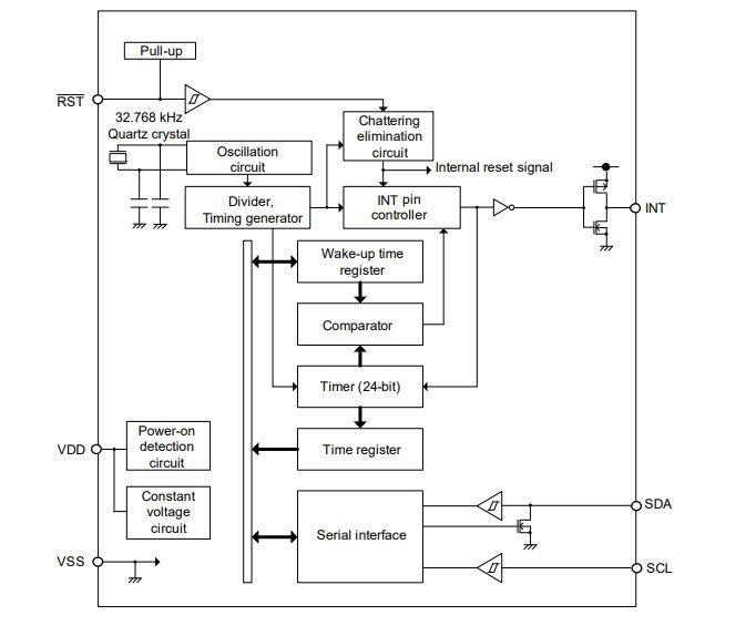
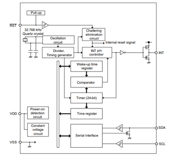
Settings Diagram
發佈日期: 2022-07-27
| 更新日期: 2022-08-10
