Allegro MicroSystems ACS773 200kHz Automotive Current Sensor ICs
Allegro MicroSystems ACS773 200kHz Automotive Galvanically Isolated Current Sensor ICs offer a wide current sensing range (50A to 400A) and very low power loss in a proprietary CB package. The ACS773 achieves high performance with an accuracy of ±2.1% over the lifetime of the IC from room to hot temperature. The 2.5μs response time allows overcurrent fault detection in safety-critical applications while the reinforced galvanic isolation reduces the bill of materials. Furthermore, the ACS773 operates off of a single 3.3V supply.The Allegro MicroSystems ACS773 200kHz Automotive Current Sensor ICs are designed for automotive applications such as OBC, DC/DC converters and Inverter control, and industrial applications such as motor control load detection and management, and power supplies.
The ACS773 Current Sensor ICs are available in a custom CB package offering a minimal form footprint, lower ICC, and higher accuracy over competing current sensor modules.
Features
- AEC-Q100 Grade 1 qualified
- Typical of 2.5μs output response time
- 3.3V supply operation
- Ultra-low-power loss of 100μΩ internal conductor resistance
- Reinforced galvanic isolation allows use in economical, high-side current sensing in high-voltage systems
- 4800Vrms dielectric strength certified under UL60950-1
- Industry-leading noise performance with greatly improved bandwidth through proprietary amplifier and filter design techniques
- Integrated shield greatly reduces capacitive coupling from current conductor to die due to high dV/dt signals, and prevents offset drift in high-side, high-voltage applications
- Greatly improved total output error through digitally programmed and compensated gain and offset over the full operating temperature range
- Small package size, with easy mounting capability
- Monolithic Hall IC for high reliability
- Output voltage proportional to AC or DC currents
- Factory-trimmed for accuracy
- Extremely stable output offset voltage
- Available in ratiometric and non-ratiometric versions
Applications
- OBC
- EV Charging stations
- Inverters
- Power supplies
- Industrial motor control
- Overcurrent fault protection
- Any high accuracy current sensing apps requiring >50A (continuous), 2.5μs response time, and high isolation
Typical Application
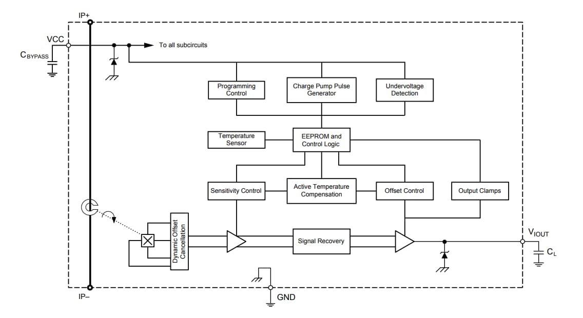
Functional Block Diagram
Additional Resources
發佈日期: 2022-02-21
| 更新日期: 2024-07-30
