Alliance Memory AS29CF160x-55TIN Parallel NOR Flash Memories
Alliance Memory AS29CF160x-55TIN Parallel NOR Flash Memories are organized as 2,097,152 bytes of 8 bits or 1,048,576 words of 16 bits each. These memories use pins I/O0 to I/O7 for 8-bit data and pins I/O0 to I/O15 for 16-bit data. The AS29CF160x-55TIN Flash memories are available in 48-pin TSOP packages. These memories are designed to be programmed in-system with the standard system 5V VCC supply. The AS29CF160x-55TIN memories require only a single 5V power supply for both read and write functions. The program and erase functions use internally generated and regulated voltages.The AS29CF160x-55TIN Flash memories are entirely software command set compatible with the JEDEC single power supply flash standard. These memories feature sector-erase architecture that allows memory sectors to be erased and reprogrammed without affecting the data contents of the device. The power-saving features allow the device to be placed in standby mode with greatly reduced power consumption.
Features
- Single power supply operation
- 4.5V to 5.5V full voltage range for read and write operations
- Access time
- 55ns (max.)
- Current
- 20mA typical active read current
- 30mA typical program/erase current
- 6uA typical CMOS standby (WP = VCC or Float)
- Flexible sector architecture
- 16KB/ 8KB x 2/ 32KB/ 64KB x 31 sectors
- 8Kword/ 4Kword x 2/ 16Kword/ 32Kword x 31 sectors
- Any combination of sectors can be erased
- Supports full chip erase
- Sector protection
- A hardware method of protecting sectors to prevent any inadvertent program or erase operations within that sector. Temporary Sector Unprotect feature allows code changes in previously locked sectors
- -40ºC to 85ºC industrial operating temperature range
- Unlock bypass program command
- Reduces overall programming time when issuing multiple program command sequence
- Top or bottom boot block configurations available
- Embedded algorithms
- Embedded Erase algorithm will automatically erase the entire chip or any combination of designated sectors and verify the erased sectors
- Embedded Program algorithm automatically writes and verifies data at specified addresses
- Minimum 100,000 program/erase cycles per sector
- 20-year data retention at 125ºC
- Reliable operation for the life of the system
- CFI (Common Flash Interface) compliant
- Provides device-specific information to the system, allowing host software to reconfigure for different Flash devices easily
- Compatible with JEDEC standards
- Pinout and software compatible with single-power-supply Flash memory standard
- Superior inadvertent write protection
- Data Polling and toggle bits
- Provides a software method of detecting the completion of a program or erasing operations
- Ready/BUSY pin (RY/BY)
- Provides a hardware method of detecting the completion of a program or erasing operations
- Erase Suspend/Erase Resume
- Suspends a sector erase operation to read data from, or program data to, a non-erasing sector, then resumes the erase operation
- Hardware reset pin (RESET)
- Hardware method to reset the device to reading array data
- WP input pin (48 pins TSOP)
- At VIL, protects the 16Kbyte boot sector from erasure regardless of sector protect/unprotect status
- At VIH, allows the removal of boot sector protection
- Package options
- 48-pin TSOP (I)
- All Pb-free (Lead-free) products are RoHS2.0 compliant
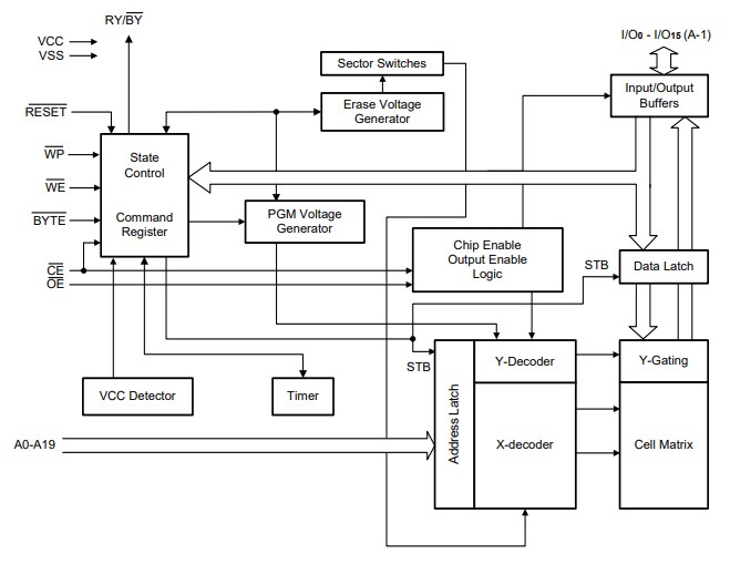
Block Diagram
發佈日期: 2019-10-22
| 更新日期: 2023-04-20
