ams OSRAM AS5172B Magnetic Position Sensors
ams OSRAM AS5172B Magnetic Position Sensors measure the orthogonal component of the flux density (Bz) over a full-turn rotation. These sensors are ideal for automotive applications such as brake and gas pedals, throttle valve/tumble flaps, steering angle sensors, chassis ride, exhaust gas recirculation, fuel-level measurement systems, 2/4WD switch, and contactless potentiometers. The AS5172B Magnetic Position Sensor compensates for external stray magnetic fields with a robust architecture based on a 14-bit sensor array and an analog front-end (AFE). These high-resolution 12-bit PSI5 output devices are based on Hall effect sensor technology, which measures the magnitude of a magnetic field.
Features
- 12-bit resolution at a 90° minimum arc
- Low output noise, low inherent INL
- Magnetic stray field immunity
- 4V to 12V operating supply voltage
- 15mA operating supply current
- -40° C to +150° C operating temperature range
- 377mW maximum power dissipation
- Moisture Sensitivity Level (MSL) 3
- AEC-Q100 Grade 0-qualified
Applications
- Brake and gas pedals
- Throttle valves and tumble flaps
- Steering angle sensors
- Chassis ride
- Exhaust gas recirculation
- Fuel-level measurement systems
- 2/4WD switches
- Contactless potentiometers
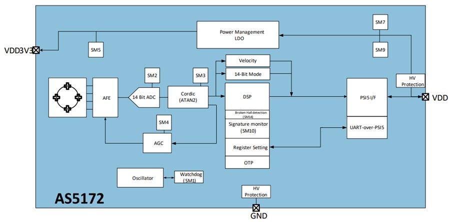
Functional Block Diagram
發佈日期: 2019-06-07
| 更新日期: 2026-02-17
