Analog Devices Inc. AD4190-4 Low-Noise Precision Sigma-Delta ADCs

Analog Devices Inc. AD4190-4 Low-Noise Precision Sigma-Delta ADCs are completely integrated 24-bit, 62.5kSPS, multichannel analog front ends for high precision measurement applications. The AD4190-4 devices contain a low-noise, 24-bit Σ-Δ analog-to-digital converter (ADC) and can be configured to have four differential or eight single-ended or pseudodifferential inputs. The on-chip low-noise gain stage ensures that signals of small amplitude can be interfaced directly to the ADC. The ADI AD4190-4 offers a high degree of signal chain integration. These devices contain an internal reference and accept two external differential references, which can be internally buffered. Communication is handled via a standard SPI interface for easy integration into microcontroller-based designs. Typical applications include industrial automation, medical instrumentation, weighing scales, and other precision measurement systems where reliability and accuracy are critical.

Features

  • 10nV input-referred noise at 3.8SPS, 128 gain
  • Crosspoint multiplexed analog inputs
  • 4x differential/8x pseudodifferential inputs
  • Ultra-low noise integrated PGA, 0.5 to 128 gains range
  • 3.8SPS to 62.5kSPS output data rate
  • Flexible digital filters
    • Low-latency sinc filters
    • Simultaneous 50Hz/60Hz rejection
  • Band-gap reference with 5ppm/°C drift typical
  • Internal oscillator
  • Power supplies
    • 4.75V to 5.25V or ±2.5V analog
    • 1.7V to 5.25V digital
  • Matched programmable excitation current sources
  • Low-side power switches
  • On-chip bias voltage generator
  • Internal temperature sensor
  • 4x general-purpose inputs/outputs
  • Internal and system calibration
  • Sensor burnout detection
  • Diagnostic functions
  • Per channel configuration
  • Flexible automatic channel sequencer
  • 3- or 4-wire serial interface (Schmitt trigger on SCLK) - SPI, QSPI, MICROWIRE, and DSP compatible
  • TDM-compatible interface for data streaming
  • Temperature ranges
    • -40°C to +105°C performance
    • -40°C to +125°C functional
  • 32-lead 4mm x 6mm LFCSP package
  • Moisture Sensitivity Level (MSL) 3

Applications

  • Industrial process control (PLC/DCS modules)
  • Temperature measurement
  • Pressure measurement
  • Medical and scientific instrumentation
  • Chromatography
  • Environmental monitoring
  • Electrical test and measurement
  • Instrumentation
  • Weigh scales

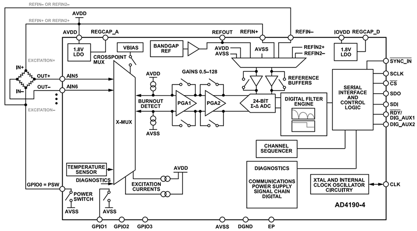
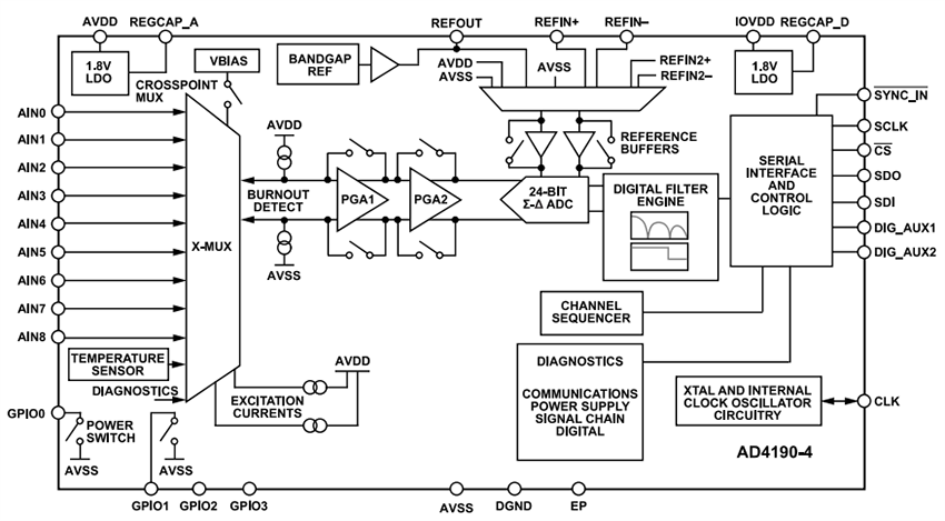
Functional Block Diagram

Block Diagram - Analog Devices Inc. AD4190-4 Low-Noise Precision Sigma-Delta ADCs

Weigh Scale Application Circuit

Application Circuit Diagram - Analog Devices Inc. AD4190-4 Low-Noise Precision Sigma-Delta ADCs

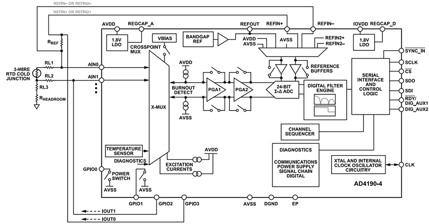
3-Wire RTD Application Circuit

Application Circuit Diagram - Analog Devices Inc. AD4190-4 Low-Noise Precision Sigma-Delta ADCs
發佈日期: 2025-12-01 | 更新日期: 2026-01-11