首頁
最新產品
製造商新品
Analog Devices Inc.
ADE9000 AFE - Analog Devices
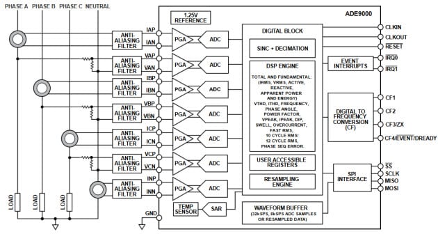
Analog Devices ADE9000 AFE Analog Devices ADE9000類比前端 (AFE) 為完全整合的多相能源與電力品質監控裝置。其設計將7個高效能ADC、高階參考、彈性的數位訊號處理 (DSP) 核心及專屬演算法整合至單一裝置。ADE9000完全整合的設計可簡化複雜的演算法程式設計、減少元件數量,並且支援EN61000-4-30 Class S電力品質標準。
ADE9000 AFE提供完整的電力監控功能,可在寬廣的動態範圍內達到±3ºC的準確度。裝置提供rms、有效、無效及視在功率與電能的總體與基本測量。 整合、彈性的波形緩衝器 ADE9000 AFE採用整合、彈性的波形緩衝器,能以32kSPS或8kSPS的固定資料傳輸速率儲存取樣。AFE亦可使用依據線路頻率而改變的取樣率,此取樣率可確保每個線路週期有128點。依據IEC 61000-4-7,重新取樣可簡化外部處理器上至少50個諧波的快速傅立葉轉換 (FFT) 計算。 整合擷取與計算引擎 使用ADE9000 AFE可藉由供應緊密整合的擷取與計算引擎,簡化能源與電力品質監控系統的實作。ADE9000的整合ADC與DSP引擎可計算參數並透過使用者可存取的暫存器提供資料。透過7個專屬ADC通道,設計人員可在三相系統或最多三個單相系統上使用ADE9000。該裝置支援羅哥斯基線圈與電流變壓器 (CT) 以進行電流測量。搭配主機微控制器使用時,ADE9000可供設計獨立的監控與保護系統。設計人員亦可使用ADE9000 AFE與主機微控制器,開發可將資料上傳至雲端的低成本節點。
產品特色
7個高效能ADC101dB SNR 寬廣的輸入電壓範圍:±1 V(707VRMS FS,增益為1 ) 差分輸入
REF、PGA漂移)可達到10000:1動態輸入範圍
Class 0.2測量含標準外部元件
電力品質測量可實現IEC 61000-4-30 Class S VRMS ½、IRMS ½ rms電壓每半個週期更新一次 10週期rms/12週期rms 電壓驟降與驟升監控器 線路頻率:每相位一個頻率 過零、過零超時 相角測量
支援CT與羅哥斯基線圈 (di/dt) 感測器多重範圍相位/CT增益補償 適用於羅哥夫斯基線圈的數位積分器
彈性的波形緩衝器可重新取樣波形以確認每個線路週期有128個點,以易於進行外部諧波分析 電壓驟降與驟升等事件可觸發波形儲存 簡化用於IEC 61000-4-7諧波分析的資料收集
進階測量功能集總體與基本的有效功率、無功伏安 (VAR)、伏安 (VA)、瓦時、乏時及伏安時 總體與基本IRMS 、VRMS 總諧波失真 功率因數 支援有效電能標準:IEC 62053-21與IEC 62053-22;EN50470-3;OIML R46;及ANSI C12.20 支援無效電能標準:IEC 62053-23、IEC 62053-24
高速通訊埠:20MHz序列埠介面 (SPI)
內建溫度感測器與12位元連續漸進暫存器 (SAR) ADC
應用
能源與電力監控
電力品質監控
防護裝置
機器健康
智慧配電單元
多相電度表
典型應用電路
EVAL-ADE9000EBZ評估板 Analog Devices EVAL-ADE9000EBZ評估板可評估ADE9000 AFE的效能。ADE9000評估套件包括評估板與評估軟體,此評估軟體以LabVIEW®撰寫而成。此軟體可使用PC介面存取裝置的暫存器與功能。該評估板搭配EVAL-SDP-CB1Z 系統使用。
產品特色
ADE9000全功能評估板 PC控制結合EVAL-SDP-CB1Z系統示範平台 (SDP) PC軟體,用於控制與資料分析(時域與頻域) 獨立運作能力
發佈日期: 2017-03-31
| 更新日期: 2022-03-11