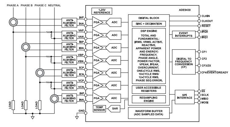
The ADE9430 simplifies the implementation and certification of energy and power quality monitoring systems by providing tight integration of acquisition and calculation engines. The integrated ADCs and DSP engine calculate various parameters and provide data through user-accessible registers or indicate events through interrupt pins. With seven dedicated ADC channels, the ADE9430 can be used on a 3-phase system or up to three single-phase systems. This device supports current transformers (CTs) or Rogowski coils when used with an external analog integrator for current measurements.
The ADE9430 power quality monitoring IC can be used to determine the amount of harmonics fed to a grid by inverter-based resources, including solar Photovoltaics, Energy Storage Solutions (ESS), and bidirectional EV chargers. By monitoring the disturbances on the grid, the solution allows better diagnostics on optimizing distributed energy resources that can be added to achieve a more reliable clean energy grid.
The Analog Devices Inc. ADE9430 Power Quality Monitoring IC is housed in a 40-lead lead frame chip scale package and is RoHS compliant.
特點
- 7個高效能的24位元Σ-Δ ADC
- 8kSPS時为101dB SNR,PGA = 1
- 寬輸入電壓範圍:±1V,707mV rms全尺度(增益 = 1時)
- 差分輸入
- ±25ppm/°C最大通道漂移(包含ADC、內部VREF、PGA漂移),可採用標準外部元件實現10000:1動態輸入範圍、Class 0.2測量
- 可選購ADSW-PQ-CLS電力品質庫,以實作完整的IEC 61000-4-30 Class S電力品質標準,其中包含
- 功率頻率:10秒(平均值)
- 供應幅度
- 驟降和驟升
- 中斷
- 快速電壓變動
- 閃爍
- 主電源訊號電壓
- 偏差不足和偏差過大
- 電壓和電流
- 幅度
- 諧波
- 間諧波
- 不平衡
- THD
- 波形記錄
- 可選購ADSW-PQ-CLS電力品質庫,與Arm® Cortex微控制器相容
- VRMS單週期和IRMS單週期每週期重新整理一次
- VRMS和IRMS過濾及更新每個樣本
- 10週期rms/12週期rms
- 用於計算線路頻率的週期暫存器,每相位一個
- 零交叉和零交叉逾時
- 相角測量
- 支援CT
- CT的多點相位和增益補償
- 加入外部類比積分器的Rogowski線圈
- 可用的連續重新取樣資料
- 波形緩衝器
- 進階測量功能集
- 总和基波有功功率、无功功率 (VAR)、视在功率 (VA)、瓦时、乏时和伏安时
- 总和基波IRMS和VRMS
- 功率因数
- 支持有功电能标准:IEC 62053-21与IEC 62053-22、EN50470-3、OIML R46和ANSI C12.20
- 支持无功电能标准:IEC 62053-23、IEC 62053-24
- 高速通訊埠20MHz SPI
- 內建溫度感測器與12位元連續漸進暫存器 (SAR) ADC
- −40°C至+85°C時準確度為±3°C
應用
- 能源與電力監控
- 符合標準的電力品質監控
- 防護裝置
- 機器健康
- 智慧配電單元
- 多相電度表
影片
方塊圖

