Analog Devices Inc. ADF4169 Fractional-N Frequency Synthesizer

Analog Devices ADF4169 Fractional-N Frequency Synthesizer is offered as a 13.5GHz synthesizer with modulation. ADF4169 provides slow and fast waveform generation capability. The device features a 25-bit fixed modulus. The modulus enables subhertz frequency resolution.

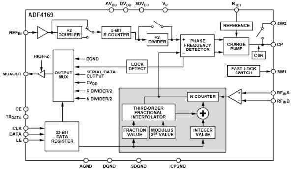
The ADF4169 synthesizer features a programmable reference divider, a low-noise digital phase frequency detector (PFD), and a precision charge pump. A ∑-Δ-based fractional interpolator enables programmable fractional-N division. The synthesizer's INT and FRAC registers define an overall N divider as N = INT + (FRAC/225). A simple 3-wire interface controls all on-chip registers.

Designers can use the ADF4169 synthesizer to integrate frequency shift keying (FSK) and phase-shift keying (PSK) modulation. In addition, frequency sweep modes are available for various waveforms in the frequency domain. Designers can set up sweeps to run automatically or have an external pulse trigger each step manually.

The design also includes cycle slip reduction circuitry to allow faster lock times without modifications to the loop filter.

The ADF4169 operates with a 2.7V to 3.45V analog power supply and a 1.8V to 2.0V digital power supply. When not in use, the ADF4169 synthesizer can be powered down.

Features

  • RF bandwidth to 13.5GHz
  • High and low-speed FMCW ramp generation
  • 25-bit fixed modulus allows subhertz frequency resolution
  • PFD frequencies up to 130MHz
  • Normalized phase noise floor of −224dBc/Hz
  • FSK and PSK functions
  • Sawtooth and triangular waveform generation
  • Ramp superimposed with FSK
  • Ramp with 2 different sweep rates
  • Ramp delay, frequency readback, and interrupt functions
  • Programmable phase control
  • 2.7V to 3.45V analog power supply
  • 1.8V to 2V digital power supply
  • Programmable charge pump currents
  • 3-wire serial interface
  • Digital lock detect
  • ESD performance: 3000V HBM, 1000V CDM
  • Qualified for automotive applications

Applications

  • FMCW radars
  • Communications test equipment
  • Communications infrastructure

Block Diagram

Analog Devices Inc. ADF4169 Fractional-N Frequency Synthesizer

Videos

發佈日期: 2015-09-29 | 更新日期: 2022-03-11