Analog Devices ADIN1110低功率10BASE-T1L乙太網路MAC-PHY提供可編程的傳輸電位、外部終端電阻器和獨立的Rx/Tx腳位,使裝置適用於本質安全應用。ADIN1110具備整合式的電壓供應監控電路和電源開啟重設電路,以提高系統級的穩定性。
乙太網路MAC-PHY提供4線SPI介面,用於MAC和主機處理器之間的通訊。ADIN1110提供6 mm × 6 mm、40導線封裝。
特點
- 自動協調功能
- 支援本質安全應用
- 外部終端電阻器
- 獨立的Rx/Tx腳位
- 整合MAC與SPI介面
- 支援10 Mb/秒全雙工的SPI介面
- 支援Open Alliance 10BASE-T1x MAC-PHY串聯
- 介面
- 可透過SPI存取的MDIO記憶體映射
- 晶片內建FIFO:20 kB接收、8 kB發射
- 穿透式或儲存並轉發作業
- Rx高和低優先順序佇列
- IEEE 1588時間戳記支援
- 統計資料計數器
- 支援16個MAC位址的訊框過濾
- 10BASE-T1L IEEE® Std 802.3cg-2019TM相容
- 支援1.0V pk-pk和2.4V pk-pk傳輸電位
- 使用腳位綁定的非管理型組態,包括:
- 主控/從屬選取
- 傳輸振幅
- 25MHz晶體振盪器/25 MHz外部時鐘輸入
- 支援單電源1.8V/3.3V作業(視模式而定)
- 纜線延伸距離
- 1.0V pk-pk為1700公尺以上
- 2.4V pk-pk為1700公尺以上
- 低耗電量 – 雙供電42 mW(典型值)
- 連結LED
- 小型封裝、40導線 (6 mm × 6 mm) LFCSP
- 寬廣的溫度範圍,−40°C至+105°C
應用
- 製程控制
- 工廠自動化
- 大樓自動化
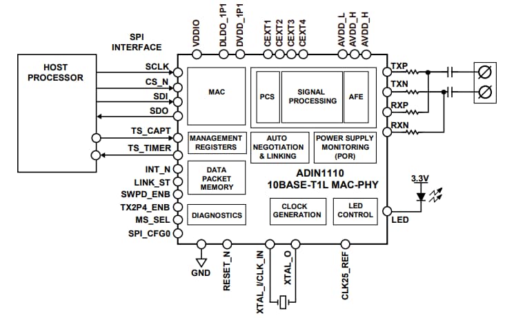
功能方塊圖
影片
發佈日期: 2021-03-22
| 更新日期: 2025-03-04

