Analog Devices Inc. ADM286xE隔離式RS-485收發器
Analog Devices ADM286xE隔離式RS-485收發器是一款5.7kVRMS 訊號和電源隔離式RS-485收發器。這些元件通過符合EN55032 B類標準的輻射發射測試,並在隔離電源和接地引腳上使用兩個小型外部0402鐵氧體,在兩層印刷電路板 (PCB) 上留有餘裕。這些元件具有整合式、低電磁干擾 (EMI)、隔離式DC-DC轉換器,無需外部隔離電源。隔離屏障提供了系統級電磁相容性(EMC)標準的抗擾度。該隔離器系列在IEC61000-4-2 A、B、Y及Z引腳上具有±12 kV觸點及±15 kV空氣RS-485 ESD保護。這些元件還具有電線反轉引腳,可讓使用者快速修正A、B、Y和Z匯流排引腳上的反向電線連接,同時保持完整的接收器故障安全性能。可提供轉換速率限制版本,該版本針對長電纜低速運行進行優化,最大資料傳輸率為500kbps。此外,還可提供半雙工及全雙工變體,全雙工泛型允許驅動器及接收器的獨立電纜反轉,以增加靈活性。
特點
- 5.7kVrms隔離式RS-485/RS-422收發器
- 低輻射的整合隔離式DC-DC轉換器
- 通過EN55032 B級,2層PCB上有餘量
- 電纜逆變智能功能
- 更正A、B、Y及Z匯流排引腳上的反向電纜連接,同時保持全面的接收器故障保護功能
- RS-485 A、B、Y及Z引腳上的ESD保護
- ≥±12kV IEC61000-4-2接觸放電
- ≥±15kV IEC61000-4-2空氣放電
- 高速25Mbps資料傳輸率 (ADM2865E/ADM2867E)
- 針對EMI控制的低速500kbps資料傳輸率(ADM2861E/ADM2863E)
- 柔性電源
- 輸入VCC電源:3V至5.5V
- 邏輯VIO電源:1.7V至5.5V
- VSEL引腳用於選擇VISO電源5V (VCC > 4.5V)或3.3V
- 符合PROFIBUS的5V VISO
- 寬操作溫度範圍:−40°C至+105°C
- 高共模瞬態抗擾度:250kV/μs
- 短路、開路及浮動輸入接收器故障保護
- 支援196個匯流排節點(72kΩ接收器輸入阻抗)
- 完全支援熱插拔(加電/斷電時的無毛刺脈衝運行)
- 安全及監管批准(待定)
- CSA組件驗收通知5A、DIN V VDE V 0884-11、UL 1577、CQC11-471543-2012、IEC 61010-1
- 28引線;細間距SOIC-W封裝(10.15mm × 10.05mm);爬電及間隙>8.0mm
應用
- 暖通空調 (HVAC) 網路
- 工業現場匯流排
- 建築自動化
- 公用設施網路
- 電能表
影片
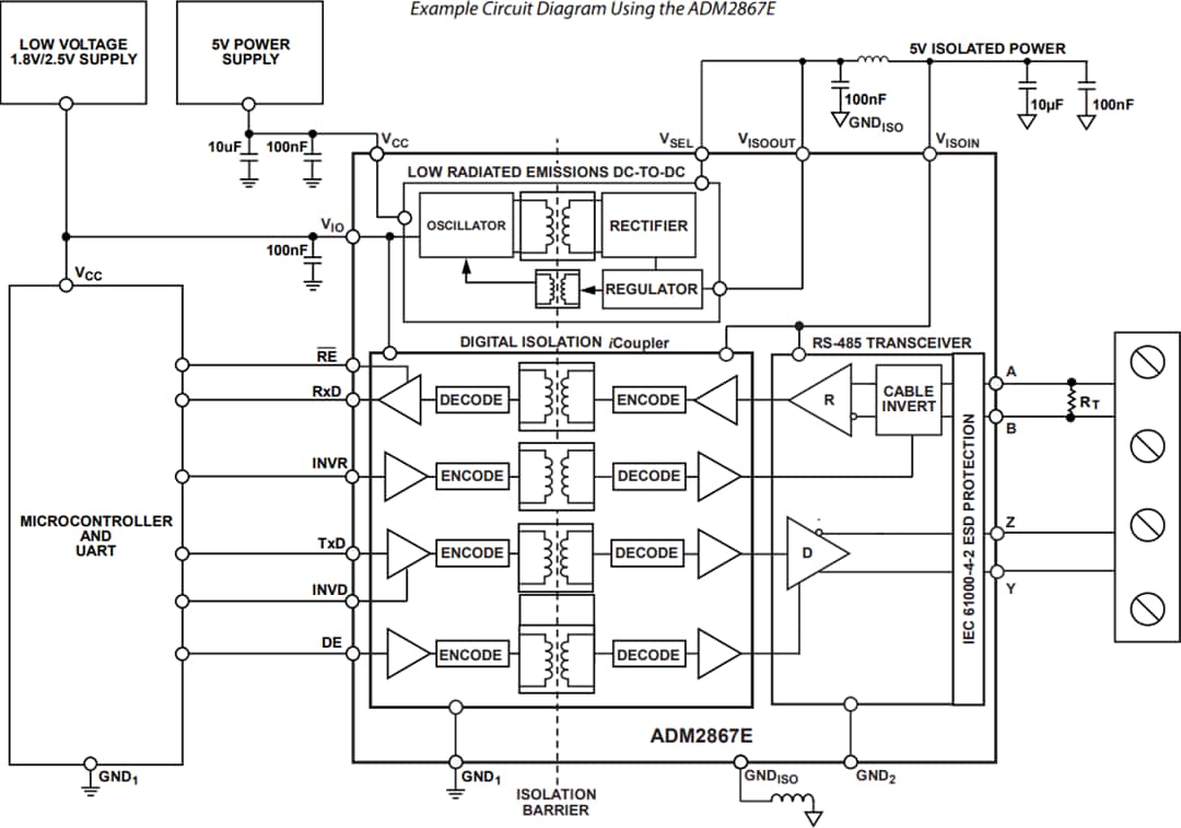
功能結構圖
ADM2863E/ADM2867E Block Diagram
Typical Application Circuit
發佈日期: 2020-06-08
| 更新日期: 2025-03-04
