Analog Devices / Maxim Integrated ADPL12008 Buck Converters
Analog Devices / Maxim Integrated ADPL12008 Buck Converters are integrated synchronous buck converters with internal high-side and low-side switches. These buck converters are designed to deliver up to 8A/10A with an input voltage from 3V to 20V. The ADPL12008 buck converters can operate in dropout mode by running at a very high duty cycle, making them ideal for factory automation applications. These ADPL12008 ICs are available in a small, 3.5mm x 3.75mm, 17-pin flip-chip quad flat no-lead (FC2QFN) package. The ADPL12008 buck converters are compatible with the ADPL12005/ADPL12006 (5A to 6A) family of devices. These buck converters are ideal for factory automation, Point-of-Load, distributed DC power systems, communication infrastructure, and test and measurement.The ADPL12008 converters offer programmable output-voltage options with a high switching frequency of 1.5MHz and 400kHz options allow small external components and reduced output ripple. These buck converters operate at a junction temperature range of -40°C to 150°C.
Features
- High-power DC/DC converter in a small solution size:
- 3V to 20V operating VIN range
- Synchronous DC-DC converter with integrated FETs
- 8A/10A maximum output current
- 400kHz and 1.5MHz fixed frequency options
- Fixed soft-start time:
- 2.5ms for 400kHz
- 3.5ms for 1.5MHz
- 36ns minimum on-time
- Programmable output voltage:
- 0.8V to 10V for 400kHz
- 0.8V to 6V for 1.5MHz
- Symmetric and balanced SUP and PGND pinout placement for better Electromagnetic Interference (EMI) performance
- Thermally-enhanced 3.5mm x 3.75mm, 17-pin FC2QFN package
- High efficiency at all load ranges:
- 20μA quiescent current in skip mode
- Up to 95.6% efficiency at 12VIN/3.3VOUT/400kHz
- Up to 93.9% efficiency at 12VIN/3.3VOUT/1.5MHz
- Dual-phase operation up to 20A load capability:
- Frequency synchronization input/output
- 180° out-of-phase between controller and target
- Dynamic current sharing
- Forced-PWM and skip-mode operation
- Low dropout operation
- Power good indicator
- Overtemperature and short-circuit protection
- -40°C to 150°C operating junction temperature range
- Scalable power solution
- Footprint compatible with ADPL12005/ADPL12006
Applications
- Factory automation
- Point-of-load
- Distributed DC power systems
- Communication infrastructure
- Test and measurement
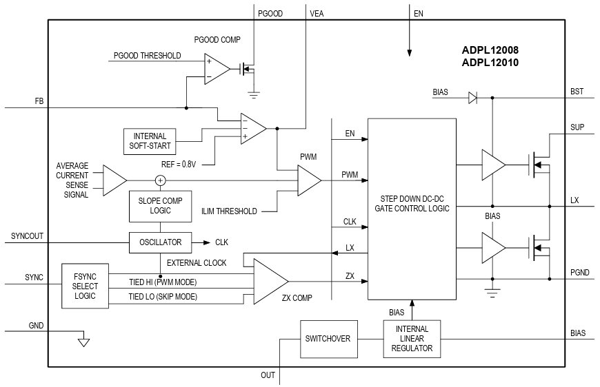
Block Diagram
Pin Configurations
發佈日期: 2025-09-15
| 更新日期: 2025-10-02
