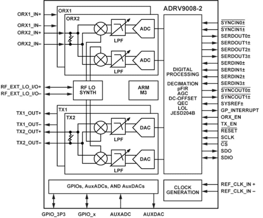
雙發射器使用創新的直接轉換調變器,可達到多載波大型基地台品質的效能,且耗電量極低。裝置在3G/4G模式下的大訊號頻寬最大值為200 MHz。在擁有更高頻內SFDR的MC-GSM模式下,大訊號頻寬的最大值為75 MHz。
其觀測路徑包含一個廣頻寬且具備最新動態範圍的直接轉換接收器。整個接收子系統包含DC偏移校正、正交校正和數位濾波,因此數位基頻不需具備這些功能。此外,裝置亦整合多種輔助功能,例如ADC、DAC,和用於PA和射頻前端控制的GPIO。
全整合式的鎖相迴路 (PLL) 為發射器和接收器區段提供了高效能、低功耗的分數-N型射頻頻率合成。使用額外的合成器產生時脈,以供轉換器、數位電路和序列介面使用。裝置採用特殊的預防措施,提供高效能基地台應用所需要的隔離功能。裝置整合所有的VCO和環路濾波器元件。
高速JESD204B介面支援最高12.288 Gbps的通道速率,因此在最廣頻寬模式下,每部發射器內具有雙通道,且觀測路徑接收器具有雙通道。
ADRV9008-2的核心可直接用1.3V和1.8V穩壓器供電,並可透過標準的4線序列埠控制。內含完整關機模式,可減少正常使用下的耗電量。ADRV9008-2採用12 mm × 12 mm、196球的晶片級球柵陣列 (CSP_BGA) 封裝。
特點
- 專門設計搭配Analog Devices Inc. RadioVerse ADRV9008-1寬頻射頻接收器使用
- 雙發射器
- 雙輸入共用觀測接收器
- 最大可調整發射器合成頻寬:450MHz
- 最大觀測接收器頻寬:450MHz
- 全整合分數-N型射頻合成器
- 全整合時脈合成器
- RF LO和基頻時脈多晶片相位同步
- JESD204B資料路徑介面
- 調整範圍:75 MHz至6000 MHz
應用
- 3G/4G/5G TDD大型基地台
- TDD主動式天線系統
- 巨量MIMO
- 相位陣列雷達
- 電子作戰
- 訊號智慧 (SigInt)
- 軍用通訊
- 可攜式測試設備
資訊圖表
功能方塊圖
發佈日期: 2018-08-22
| 更新日期: 2023-02-27

