特點
- 支援高達9GHz的射頻訊號合成及脈衝調製
- 高動態範圍及訊號重建頻寬
- 完全支援零中頻(IF)及其他直流耦合應用
- 極佳的光譜平坦度及輸出回波損耗
- 板載自由運行122.88MHz精密恆溫控制晶體振盪器(OCXO)
- 支援本地觸控式螢幕(TFT LCD螢幕)及HDMI顯示器
- 具有低輸出電容的低輸出紋波
- 提供SPI、USB及乙太網路通訊介面
- 無需大體積散熱器
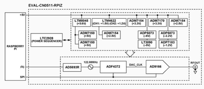
電路板概覽
方塊圖
發佈日期: 2022-07-14
| 更新日期: 2022-09-01

