Analog Devices / Maxim Integrated MAX25560 LED Drivers
Analog Devices / Maxim Integrated MAX25560 LED Drivers are 6-channel LED backlight drivers with an integrated current-mode boost controller. These LED drivers operate at 400kHz to 2.2MHz switching frequency range and incorporate spread spectrum. The MAX25560 device is capable of operating down to very low battery voltages by virtue of a unique input voltage switching scheme. These drivers are available in a compact TQFN package and operate over the -40°C to 125°C temperature range. The MAX25560 drivers are ideal for automotive instrument clusters, automotive central information displays, and automotive head-up displays.Features
- Operates down to 3V on battery input while maintaining 5V gate drive
- Wide boost duty-cycle range
- Boost or SEPIC current-mode DC-DC controller
- 400kHz to 2.2MHz operating frequency range
- Optional spread spectrum
- Can be synchronized to an external clock
- LED current sinks
- Up to 220mA output current per string
- Low OUT_ regulation voltage
- Optional phase-shifting between channels
- 16667:1 dimming ratio at 200Hz
- External or internal (I2C) dimming
- >16667:1 dimming ratio with hybrid dimming
- Integrated charge pump to drive a series nMOSFET
- Temperature foldback using an external NTC temperature sensor
- Fast startup option without I2C intervention using the EN pin only
- FLTB output provides diagnostic information:
- Shorted or open LEDs
- Any OUT_pin shorted to GND
- IREF/RT resistor out of range
- Thermal warning/shutdown
- Undervoltage/overvoltage on boost output
- V18 internal supply out of range
- Input overcurrent (measured at boost input using external sense resistor)
- I2C interface
- Compact TQFN package
Applications
- Automotive instrument clusters
- Automotive central information displays
- Automotive head-up displays
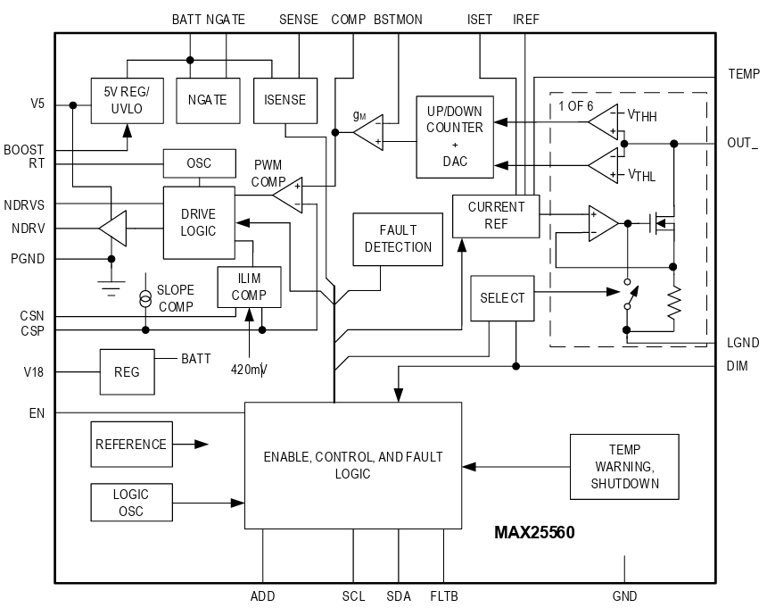
Block Diagram
發佈日期: 2025-09-16
| 更新日期: 2025-10-13
