Diodes Incorporated AP6120x 2A Synchronous Buck Converters
Diodes Incorporated AP6120x 2A Synchronous Buck Converters have a wide input voltage range of 2.3V to 5.5V and low Quiescent supply current (IQ). These converters integrate a 110mΩ high-side power MOSFET and an 80mΩ low-side power MOSFET that results in high-efficiency step-down DC-DC conversion. The AP6120x converters can be easily used by minimizing the external component count to obtain a fast transient response, easy loop stabilization, and low output voltage ripple. Typical applications include distributed power bus supplies, small home appliances, FPGA, DSP, and ASIC supplies, network video cameras, wireless routers, and consumer electronics.Features
- 2.3V to 5.5V input voltage range (VIN)
- 0.6V to 3.6V output voltage range (VOUT)
- 2A continuous output current
- 0.6V ±2% reference voltage
- 19µA low Quiescent current
- 1.3MHz switching frequency
- Up to 89% efficiency at 5A light load
- AP61202 and AP61203 power good indicator
- Operation mode options:
- AP61200 and AP6120 pulse frequency modulation
- AP61201 and AP61203 force pulse width modulation
- Protection circuitry:
- Undervoltage Lockout (UVLO)
- VIN Overvoltage Protection (OVP)
- Peak current limit
- Valley current limit
- Thermal shutdown
Applications
- 5V distributed power bus supplies
- Small home appliances
- White goods
- FPGA, DSP, and ASIC supplies
- Network video cameras
- Wireless routers
- Consumer electronics
- General-purpose point of load
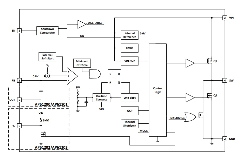
Block diagram
Efficiency Vs Output current graph
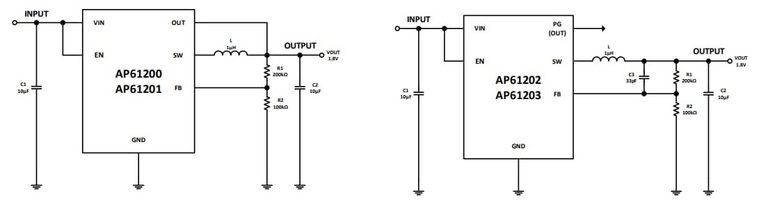
Application circuits
發佈日期: 2022-04-13
| 更新日期: 2024-02-13
