Diodes Incorporated AP61406Q I2C Buck Converters

Diodes Incorporated AP61406Q I2C Buck Converters offer a 2.3V to 5.5V input voltage range and are selectable up to 4A. The synchronous buck converter fully integrates a 75mΩ high-side power MOSFET and a 33mΩ low-side power MOSFET to supply high-efficiency step-down DC/DC conversion. The Diodes Inc AP61406Q is easy to use, minimizing external component count through its constant-on-time (COT) control, which achieves fast transient responses, eases loop stabilization, and reduces output voltage ripple.

The series presents both fixed and adjustable output voltages. The converters also use a proprietary gate driver scheme to mitigate switching-node ringing without sacrificing MOSFET turn-on and turn-off times, thereby reducing high-frequency radiated EMI noise caused by MOSFET switching.

The AP61406Q features an I2C-compatible, 2-wire serial interface incorporating a bidirectional serial-data line, SDA, and a serial-clock line, SCL. The device supports SCL clock rates up to 3.4MHz.

The AP61406Q has optimized designs for a small form factor. The device is available in a W-QFN1520-8/SWP (Type UX) package.

The AP61406Q is suitable for automotive applications requiring specific change control; it is AEC-Q100 qualified, PPAP-capable, and manufactured in IATF 16949-certified facilities.

Features

  • AEC-Q100 qualified with the following results
    • Device temperature grade 1: -40°C to +125°C TA
    • Device HBM ESD classification level H1C
    • Device CDM ESD classification level C3B
  • Functional safety-capable – documentation available to aid functional safety system design
  • 20µA ultra-low quiescent current (Pulse-Frequency Modulation)
  • I2C interface up to 3.4MHz SCL clock rates
    • Programmable mode - PFM/PWM
    • Programmable frequency - 1MHz, 1.5MHz, 2MHz, 2.5MHz
    • Programmable IOUT – 1A/2A/3A/4A
    • 20mV increment VOUT adjust
  • Wettable flange
  • VIN 2.3V to 5.5V
  • 0.300V to 3.600V wide output voltage range
  • 0.5V ±2% reference voltage (default setting)
  • Power-good indicator
  • Protection circuitry
    • Undervoltage Lockout (UVLO)
    • VIN Overvoltage Protection (OVP)
    • Peak and valley current limit
    • Thermal shutdown
  • Totally lead-free and fully RoHS compliant
  • Halogen and antimony-free “Green” device
  • AEC-Q100 qualified, PPAP capable, and manufactured in IATF 16949 certified facilities (AP61406Q)

Applications

  • Automotive power systems
  • Automotive infotainment
  • Automotive instrument clusters
  • Automotive telematics
  • Advanced driver assistance systems

Specifications

  • Buck type
  • 75mΩ HS RDS(ON)
  • 33mΩ LS RDS(ON)
  • 5.5V maximum input voltage
  • 2.3V minimum input voltage
  • 20µA quiescent current type
  • 0.02µA shutdown current type
  • 4A output current

Typical Application Schematic

Schematic - Diodes Incorporated AP61406Q I2C Buck Converters

Efficiency vs. Output Current

Performance Graph - Diodes Incorporated AP61406Q I2C Buck Converters

Pin Assignments

Location Circuit - Diodes Incorporated AP61406Q I2C Buck Converters

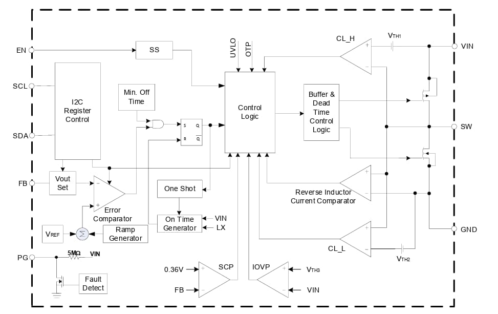
Functional Block Diagram

Block Diagram - Diodes Incorporated AP61406Q I2C Buck Converters
發佈日期: 2026-01-26 | 更新日期: 2026-02-12