Microchip Technology dsPIC33CK 16位元數位訊號控制器
Microchip Technology dsPIC33CK 16位元數位訊號控制器(DSC)設計用於整合MCU的控制屬性與DSP的計算能力於單個核心內。這些dsPIC33CK DSC具有16位元CPU、高解析度PWM、CAN彈性資料 (CAN FD)、內部振盪器、低功耗管理模式、高速ADC模組及除錯器開發支援。16位元CPU擁有修正的Harvard結構,具有增強的指令集並支援數位訊號處理 (DSP)。dsPIC33CK DSC擁有內部快閃程式記憶體,在整個VDD範圍內正常運行期間可讀寫並可擦除。快閃程式記憶體儲存並執行應用代碼。dsPIC33CK DSC擁有晶載鎖相環 (PLL),可提升選定內部/外部振盪器源的內部作業頻率。Auxilliary PLL (APLL) 時脈發生器可提升周邊設備的作業頻率,故障安全時脈監控 (FSCM) 偵測時脈故障並允許安全應用恢復/關機。dsPIC33CK DSC實作兩個正交編碼器介面 (QEI) 模組,從而連接增量編碼器以獲取機械位置資料。QEI模組可對交流感測馬達 (ACIM) 和開關磁阻 (SR) 等電機控制應用進行閉環控制。
特點
- 16位元dsPIC33CK CPU
- 時脈管理:
- 內部振盪器
- 可編程PLL和振盪器時脈源
- 參考時脈輸出
- 故障安全時脈監控 (FSCM)
- 備份內部振盪
- 低功耗管理模式
- 高速PWM:
- 8個PWM對
- 上升和下降邊緣停滯時間
- 停滯時間補償
- 高頻率作業的時脈斬波
- 用於ADC觸發的彈性觸發組態
- 一個通用計時器
- 高速ADC模組:
- 最高24個輸入通道
- 用於每個類比通道的專用結果緩衝器
- 彈性和獨立的ADC觸發器源
- 四個數位比較器
- 用於提高解析度的四個過採樣濾波器
- 最多三個運算放大器
- 四個直接記憶體存取 (DMA) 通道
- 通訊介面:
- 三個4線SPI/I2S模組
- CAN彈性資料 (FD) 模組
- 三個支援SMBus的I2C模組
- 可編程電路冗餘檢查 (CRC)
- 並行主連接埠 (PMP)
- 除錯器開發支持:
- 電路內和應用內編程與除錯
- 三個複雜斷點和五個簡單斷點
- 追蹤緩衝區和運行時監視
- 帶備用振盪器的時脈監控系統
- 當機計時器(DMT)
- 糾錯碼 (ECC)
- 看門狗計時器 (WDT)
- CodeGuard™安全功能
- ICSP™寫禁止
- RAM記憶體內建自檢 (MBIST)
影片
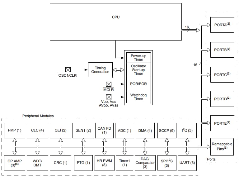
dsPIC33CK 16位元DSC方塊圖
Additional Resources
發佈日期: 2018-06-20
| 更新日期: 2023-10-09
