Microchip Technology EMC18xx多通道低電壓溫度感測器

Microchip EMC18xx多通道低電壓溫度感測器是高精度、2 線 (I2C) 溫度感應器,具有電阻可編程系統關機功能。EMC18xx組件提供具有相關警報的溫度變化率測量,增加另一個保護測量層以捕捉和管理可變系統溫度。

EMC18xx溫度感測器具有電阻誤差校正 (REC)、Beta補償(用於支持需要BJT/電晶體模型的CPU二極體)及溫度變化率測量。除了監視多達五個溫度通道外,EMC18xx結合這些功能,為複雜的環境監控應用提供穩定的解決方案。

特點

  • 運用優先提示限制以測量溫度變化率計算
  • 多達四個外部溫度監視器:
    • 8個引線裝置:±1°C最大精度(-20°C至+105°C TA 、-40°C至+125°C TD
      • ±1.5°C最大精度(-40°C至+125°C TA、-40°C至+125°C TD
    • 10個引線裝置:±1°C最大精度(-20°C至+125°C TA、-40°C至+125°C TD
      • ±1.5°C最大精度(-40°C至+125°C TA、-40°C至+125°C TD
    • 內部溫度感測器
      • ±1°C最高精度、-40°C至+125°C
    • 內部溫度感測器
      • ±1°C最高精度、-40°C至+125°C
  • 溫度感測器解析度(內部/外部):0.125°C
  • 電阻可編程系統關機溫度
  • 可配置提醒引腳
  • 運行電壓:1.62V至3.6V
  • 溫度範圍:-40°C至+125°C
  • 其它特性
    • 自動測試補償
    • 可配置理想因素
    • 熱敏二極體比較
    • 電阻錯誤校正
  • 提供8引線2x2mm WDFN和10引線2.5x2.0mm VDFN封裝

應用

  • 溫度敏感儲存
  • 工業
  • 用於低系統電壓的物聯網
  • 便擕式電子
  • 手持式遊戲
  • 計算
  • 食物儲存

系統示意圖

應用電路圖 - Microchip Technology EMC18xx多通道低電壓溫度感測器

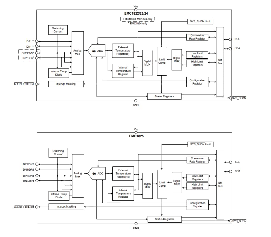
結構圖

結構圖 - Microchip Technology EMC18xx多通道低電壓溫度感測器
發佈日期: 2019-08-13 | 更新日期: 2023-06-05