KSZ8041RNL收發器是KSZ8041NL的增強型RMII版本,不需要50MHz系統時鐘。這些收發器使用25MHz晶體作為輸入參考時鐘,並向MAC輸出50MHz RMII參考時鐘。KSZ8041NL和KSZ8041RNL收發器採用32腳位無鉛QFN封裝。KSZ8041TL和KSZ8041FTL收發器採用48腳位無鉛TQFP封裝。KSZ8041MLL收發器採用48腳位無鉛LQFP封裝。典型應用包括印表機、遊戲機、IPTV、IP電話、IP機上盒與媒體轉換器。
特點
- 單晶片10Base-T/100Base-TX物理層解決方案
- 完全符合IEEE 802.3u標準
- 低功率
- 電力消耗<180mW
- 關機與省電模式
- 內建1.8V核心穩壓器
- 3.3V單電源供應器
- HP自動MDI/MDI-X,可對直通和交叉電纜進行可靠偵測和修正,並具有停用和啟用選項
- 透過標準電纜穩定運行
- 支援MII介面(僅限KSZ8041NL)
- 支援RMII介面
- 外部50MHz系統時鐘(KSZ8041NL或KSZ8041TL/FTL)
- 25MHz晶體/時脈輸入和50MHz參考時脈輸出至MAC(KSZ8041RNL)
- 支援SMII介面
- 外部125MHz系統時鐘和來自MAC的12.5MHz同步時鐘(僅限KSZ8041TL/FTL)
- 光纖支援100Base-FX(僅適用於KZ8041FTL)
- MIIM (MDC/MDIO) 管理匯流排達6.25MHz,可快速配置PHY暫存器
- 中斷腳位選項
- 可程式LED輸出,用於指示連結、活動和速度
- 6kV ESD額定值
- 多種封裝
- 32腳位QFN (5mm x 5mm)
- 48腳位LQFP (KZ8041MLL)
- 48腳位TQFP (KZ8041TL/FTL)
應用
- 印表機
- 遊戲機
- IPTV
- IP電話
- IP機上盒
- 媒體轉換器
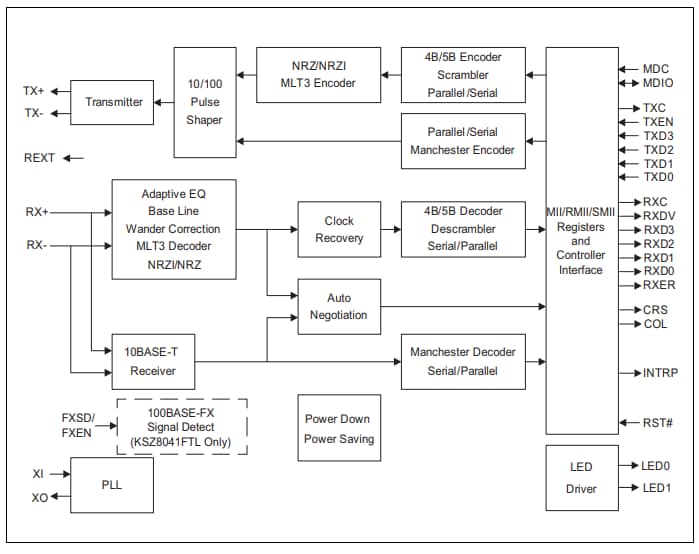
KSZ8041Tl/FTL乙太網路收發器方塊圖
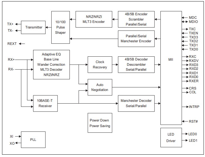
KSZ8041MLL乙太網路收發器方塊圖
發佈日期: 2018-06-11
| 更新日期: 2025-06-13

