Microchip Technology PIC16(L)F18426/46低腳位數MCU

Microchip PIC16(L)F18426/46低腳位數MCU結合了極低功率 (XLP) 和核心獨立周邊 (CIP)、智慧類比,以及適合各種應用的通訊周邊。這些MCU整合含運算功能的12位元類比轉數位轉換器 (ADC2)、裝置資訊區 (DIA)、記憶體存取分割區 (MAP) 和周邊裝置腳位選擇 (PPS)。PIC16(L)F18426/46低腳位數MCU擁有最高28kb的程式快閃記憶體、2kb資料SRAM記憶體,和256B資料EEPROM記憶體。這些MCU具備各種數位周邊,包括四個可程式邏輯單元 (CLC)、兩個互補波形產生器 (CWG),以及多達18個I/O腳位。其類比周邊則包含ADC、DAC、跨零偵測 (ZCD)、溫度感測器電路和固定電壓參考 (FVR) 模組。PIC16(L)F18426/46低腳位數MCU採用省電操作模式,CPU和周邊各以不同的週期速率運作。這些低腳位數MCU適用於各種一般用途和低功耗的應用。

特點

  • C編譯器最佳化的RISC架構
  • 運作速度:
    • 直流32MHz時脈輸入
    • 125ns最低指令週期
  • 中斷功能
  • 16層深度硬體堆疊
  • 計時器:
    • 最多兩個24位元計時器
    • 最多四個8位元計時器
    • 最多四個16位元計時器
  • 視窗型監視計時器 (WWDT):
    • 可變除頻器選擇
    • 可變視窗大小選擇
    • 可從硬體和/或軟體設定
  • 低電流開機重置 (POR)
  • 可設定的開機計時器 (PWRT)
  • 壓降重置 (BOR)
  • 低功耗 BOR (LPBOR) 選項
  • 記憶體:
    • 最高28kb程式快閃記憶體
    • 最高2kb資料SRAM記憶體
    • 256位元組資料EEPROM
  • 可程式程式碼保護
  • 直接、間接與相對定址模式
  • 記憶體存取分割區 (MAP):
    • 寫入保護
    • 可自訂分割區
  • 作業電壓範圍:
    • 1.8V至3.6V (PIC16LF184XX)
    • 2.3V至5.5V (PIC16F184XX)
  • 作業溫度範圍:
    • -40ºC至85ºC(針對工業作業)
    • -40ºC至125ºC(針對延伸作業)
  • 省電操作模式:
    • 休眠 - CPU和周邊各以不同的週期速率運作
    • 閒置 - CPU在周邊運作時停滯
    • 睡眠 - 功耗最低
    • 極低功率模式 (XLP)
    • 周邊模組停用 (PMD) - 可選擇性停用硬體模組,將未使用周邊的有效功耗降到最低
       
  • 極低功率 (XLP) 功能:
    • 睡眠模式 - 1.8V時為50nA
    • 監視計時器 - 1.8V時為500nA
    • 次要振盪器 - 32kHz時為500nA
    • 作業電流:
      • 32kHz、1.8V時為8µA
      • 1.8V時為32µA/MHz
  • 數位周邊:
    • 可程式邏輯單元 (CLC):
      • 4個CLC
      • 整合式組合與循序邏輯
    • 互補波形產生器 (CWG):
      • 2個CWG
      • 升緣與降緣停滯帶控制
      • 全橋、半橋與1通道驅動器
      • 多重訊號來源
    • 捕捉/比較/PWM (CCP) 模組:
      • 4個CCP
      • 捕捉/比較模式為16位元解析度
      • PWM模式為10位元解析度
    • 脈寬調變器 (PWM):
      • 2個10位元PWM
    • 數值控制振盪器 (NCO):
      • 0Hz<fNCO
      • fNCO/220 解析度
    • 周邊裝置腳位選擇 (PPS):
      • 數位周邊的I/O腳位重新映射
    • 序列通訊:
      • EUSART:
        • 1個EUSART
        • RS-232、RS-485和LIN相容
        • 自動鮑率偵測和啟動時自動喚醒
      • 主要同步序列連接埠 (MSSP):
        • 2個MSSP
        • SPI
        • I2C、SMBus和PMBus™相容
    • 資料訊號調變器 (DSM)
    • 最多18個I/O腳位
    • 計時器模組
  • 類比周邊:
    • 含運算功能的類比轉數位轉換器 (ADC2)
    • 跨零偵測 (ZCD)
    • 溫度感測器電路
    • 比較器
    • 數位轉類比轉換器 (DAC)
    • 固定電壓參考 (FVR) 模組
  • 彈性振盪器結構
  • 高精度內部振盪器
  • 4個PLL用於外部來源
  • 2個PLL用於HFINTOSC
  • 低功耗內部31kHz振盪器 (LFINTOSC)
  • 外部32.768kHz晶體振盪器 (SOCS)

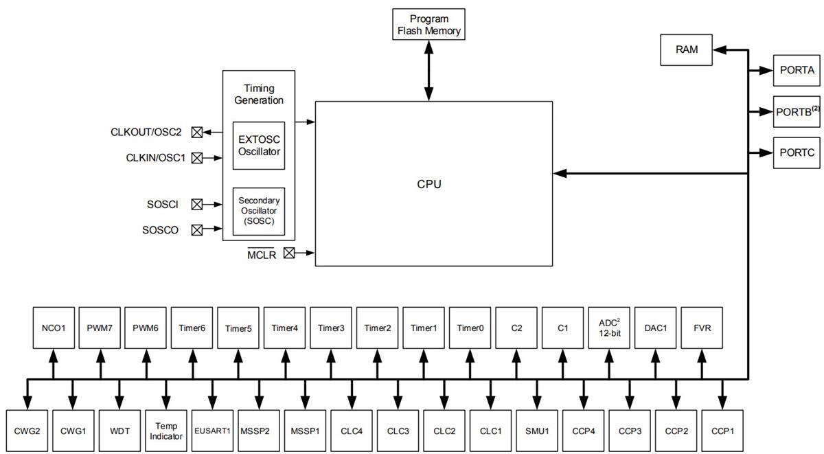
PIC16(L)F18426/46低腳位數MCU方塊圖

結構圖 - Microchip Technology PIC16(L)F18426/46低腳位數MCU

PIC16(L)F18426/46低腳位數MCU腳位圖

發佈日期: 2018-03-29 | 更新日期: 2022-10-03