Microchip Technology PIC16LF1554/1559 8-Bit Microcontrollers
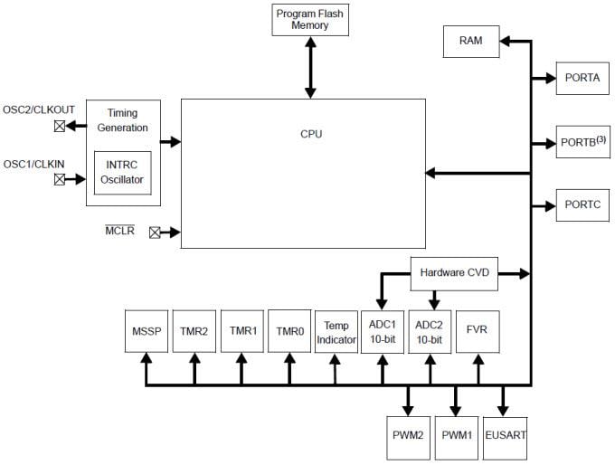
Microchip's PIC16LF1554/1559 8-Bit Microcontrollers are enhanced mid-range core microcontrollers that deliver unique on-chip features for the design of mTouch™ solutions and general-purpose applications in 14/20-pin count packages. These MCUs come with up to 17 analog channels connecting to two 10-bit ADCs with automated hardware CVD modules, two PWMs and multiple communication peripherals offer an excellent solution to implement capacitive sensing and other front-end sampling applications with minimal software overhead.Features
- Dual Analog to 10-bit Digital Converter (ADC)
- 12 (PIC16LF1554) or 17 (PIC16LF1559) Channel 10-bit ADC
- Advanced Controls for mTouch CVD (Capacitive Voltage Divider)
- Voltage Reference
- MI2C, SPI, UART
- 2 PWMs (PIC16LF1554 only)
- 25mA Source/Sink current I/O
- 32MHz internal oscillator
- Low Power Brown Out Reset (LPBOR)
- Extended Watchdog Timer (WDT)
- In-Circuit Debug
- Operating Voltage 1.8V - 3.6V
Applications
- mTouch solutions
- General purpose HMI applications
Documents
Block Diagram
發佈日期: 2014-10-02
| 更新日期: 2022-03-11
