Monolithic Power Systems (MPS) MP6550x H-Bridge Motor Drivers
Monolithic Power Systems (MPS) MP6550x H-Bridge Motor Drivers consist of 4 N-channel power MOSFETs and an internal charge pump to generate gate drive voltages. The PWM interface is compatible with industry-standard devices and helps achieve low standby circuit current for disabled devices. The drivers include internal shutdown functions for overcurrent protection, short-circuit protection, undervoltage lockout, and overtemperature protection. MPS MP6550x H-Bridge Motor Drivers offer a 1.8V to 22V operating input voltage range, 2A continuous driver current, -40°C to +125°C temperature range, and +150°C junction temperature. Typical applications include robotics, cameras, toys, medical devices, and consumer products.Features
- Cycle-by-cycle current regulation limit
- Low standby circuit current
- Thermal shutdown
- Internal charge pump
- Cycle-by-cycle overcurrent protection
- Short-circuit protection
- Undervoltage lockout
- Overtemperature protection
- PWM input interface, compatible with industry-standard devices
- QFN-12 package
Applications
- Robotics
- Cameras
- Toys
- Medical devices
- Consumer products
Specifications
- 1.8V to 22V operating supply voltage range
- 2A continuous driver current
- 240mΩ MOSFET resistance (HS + LS)
- 2mm x 2mm dimensions
- -40°C to 125°C operating temperature range
- +150°C junction temperature
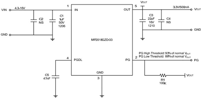
Schematic Diagram
Package Overview
Additional Resources
發佈日期: 2020-08-06
| 更新日期: 2024-09-09
