Monolithic Power Systems (MPS) MPM3632C Switching Voltage Regulators
Monolithic Power Systems (MPS) MPM3632C Switching Voltage Regulators are step-down regulator modules integrated with synchronous rectifying power MOSFET, inductor, and three capacitors. These switching voltage regulators operate at a fixed 3MHz switching frequency and 3A continuous output current. The MPM3632C regulators eliminate design and manufacturing risks while dramatically improving the time to market. These regulators provide a compact solution that requires only input and output capacitors to achieve 3A of continuous output current with excellent load and line regulation.The MPM3632C switching voltage regulators include output Overvoltage Protection (OVP), Over-current Protection (OCP), and thermal shutdown protection features. These voltage regulators are suitable for server systems, medical and imaging equipment, distributed power systems, Point-of-Load for FPGA, ASICs, DSPs, and space constrained applications.
Features
- Complete switch-mode power supply
- 3MHz switching frequency
- Wide 4V to 18V operating input range
- Output adjustable from 0.8V
- Internal fixed soft-start time
- 3A continuous output current
- Forced CCM for low-output ripple
- Power Good (PG) indicator
- Hiccup Over-Current Protection (OCP)
- Output Overvoltage Protection (OVP)
- Thermal shutdown
- Fast transient response
- Available in a QFN-20 (3mm x 5mm x 1.6mm) package
- 7mm x 7.9mm total solution size
Applications
- Server systems
- Medical and imaging equipment
- Distributed power systems
- Point-of-Load for FPGA, ASICs, and DSPs
- Space-constrained applications
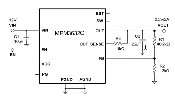
MPM3632C Typical Application Circuit Diagram
Typical Efficiency and Ploss vs. Load Current Characteristics
Additional Resources
發佈日期: 2018-09-25
| 更新日期: 2024-08-23
