NXP Semiconductors NXH3670 Wireless Gaming Headphone Solution
NXP Semiconductors NXH3670 Wireless Gaming Headphone Solution is a low-latency, highly integrated, ultralow-power 2.4GHz wireless transceiver. The device features an embedded MCU and targets wireless audio streaming for gaming headsets at very low latency. The NXH3670 from NXP Semiconductors runs a proprietary audio streaming protocol optimized for gaming headset applications. This provides high-quality forward audio streaming at low latency (<20ms) and a simultaneous voice microphone backchannel. Additionally, a wireless data channel is available.Features
- BLUETOOTH® Low Energy 4.1 certified with proprietary audio streaming extension
- Programmable TX output power of −10dBm to +4dBm in 2dB steps
- Sensitivity −90dBm in Bluetooth LE 2 Mbps modulation mode and −94dBm in Bluetooth LE 1 Mbps modulation mode
- Industry-lowest current consumption of RX current < 4mA at 1.2V and TX current < 7mA (0dBm output power) at 1.2V
- Integrated audio interfaces and audio processing
- WLCSP package < 7.25mm2 with 34 bumps
- Low number of external passive components
- Pb-free and compliant with RoHS Directive 2011/65/EU (RoHS 2)
- -20°C to +85°C operating temperature range
Applications
- Gaming headsets
- Communication headsets
- Wireless microphones
- Wireless speakers
Videos
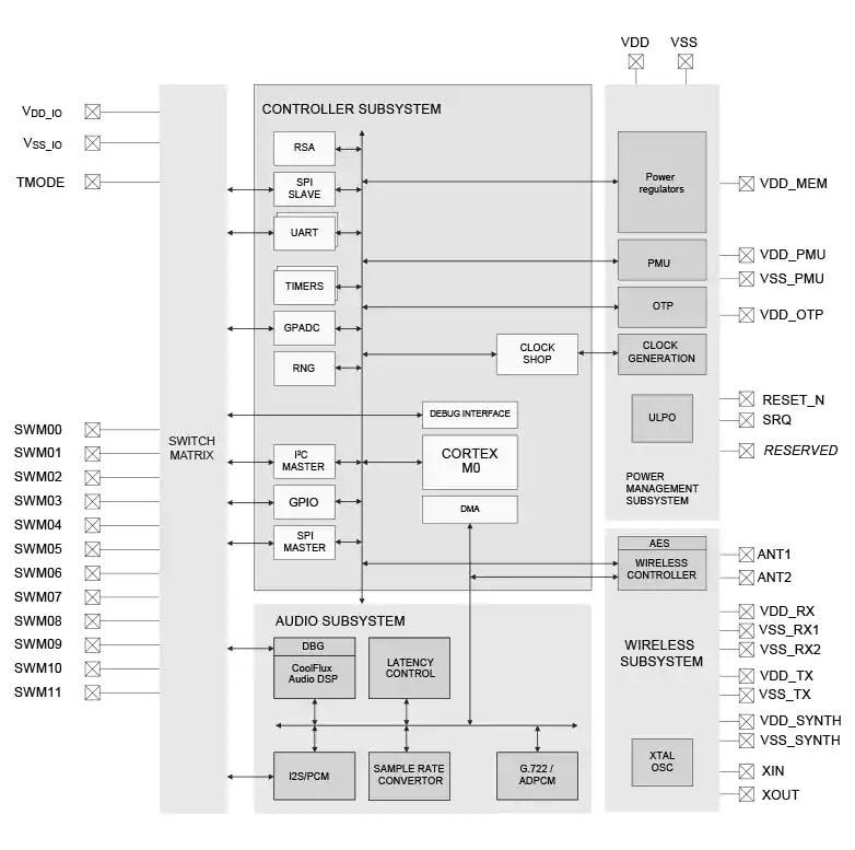
Block Diagram
發佈日期: 2019-02-22
| 更新日期: 2023-06-30
