onsemi NUD4700 LED Shunts
onsemi NUD4700 LED Shunts are designed to be used with 1W LEDs (nominally 350mA @ 3V). These shunts provide a current bypass in the case of a single LED going into an open circuit. The NUD4700 LED shunts automatically reset themselves if the LED is replaced or the shunt is healed. These shunts feature a typical ON-state voltage of 1V and an OFF-state current of less than 250µA. The NUD4700 LED shunts are AEC-Q101 qualified and PPAP capable. These shunts are Pb and halogen/BFR-free and are RoHS compliant. Typical applications include LEDs where preventive maintenance is non-practical, LED headlights, LEDs with high reliability requirements, and crowbar protection for open-circuit conditions.
Features
- A Simple two-terminal device
- Automatically reset themselves if the LED heals itself or is replaced
- 1V (typically) ON-state voltage
- less than 250μA OFF-state current
- Available with a white package
- AEC-Q101 qualified and PPAP capable
- Pb and halogen/BFR-free
- RoHS compliant
Applications
- LEDs where preventive maintenance is non-practical
- LED headlights
- LEDs with high reliability requirements
- Crowbar protection for open circuit condition
- Overvoltage protection for sensitive circuits
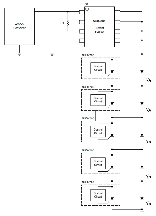
Typical Application Circuit
Additional Resources
發佈日期: 2025-11-10
| 更新日期: 2025-11-20
