Power Integrations SIC1181KQ & SIC1182KQ SCALE-iDriver™ Gate Drivers
Power Integrations SIC1181KQ and SIC1182KQ SCALE-iDriver™ Gate Drivers are high-efficiency, single-channel gate drivers optimized for Silicon Carbide (SiC) MOSFETs and certified to AEC-Q100 for automotive use. Power Integrations SIC1181KQ and SIC1182KQ exhibit rail-to-rail output, fast gate switching speed, unipolar supply voltage supporting positive and negative output voltages, integrated power and voltage management, and reinforced isolation provided by solid insulator FluxLink™ technology.The SIC1181KQ and SIC1182KQ include critical safety features such as Drain to Source Voltage (VDS) monitoring, SENSE readout, primary and secondary Undervoltage Lock-out (UVLO), current-limited gate drive, and Advanced Active Clamping (AAC) which facilitates safe operation and soft turn-off-under fault conditions.
AAC in combination with VDS monitoring ensures safe turn-off in less than 2µs during short-circuit conditions. Gate-drive control and AAC features allow gate resistance to be minimized; this reduces switching losses, maximizing inverter efficiency.
By pairing the SCALE-iDriver control and safety features with its high-speed FluxLink communication technology, these devices provide high isolation capability and enable safe, cost-effective designs for inverters up to 300kW, with very few external components.
Features
- AEC Q-100 qualified for automotive-grade level 1
- ±8A peak gate output current
- Integrated FluxLink technology provides reinforced isolation
- SiC MOSFET optimized AAC
- Ultrafast short-circuit detection
- UVLO primary and secondary side
- Rail-to-rail stabilized output voltage
- Unipolar supply voltage for secondary-side
- Up to 150kHz switching frequency
- ±5ns propagation delay jitter
- High common-mode transient immunity
- Under-voltage lock-out protection for primary and secondary-side, including fault feedback
- Over-current detection for SiC MOSFETs with a current-sense terminal
- Ultrafast short-circuit monitoring, turn-off, and reporting
- AAC provides overvoltage limitation during SiC MOSFET turn-of
- 100% production partial discharge test
- 100% production HIPOT compliance testing at 8000V peak for 1s
- Reinforced insulation pending VDE V 0884-11 certification
- UL 1577 recognized
- -40°C to +125°C operating ambient temperature
- eSOP package with 9.5mm creepage and clearance, CTI 600
- Halogen-free and RoHS compliant
Applications
- Electric vehicle BEV traction drives
- Hybrid electric vehicle PHEV traction drives
- Electric vehicle on-board and off-board chargers
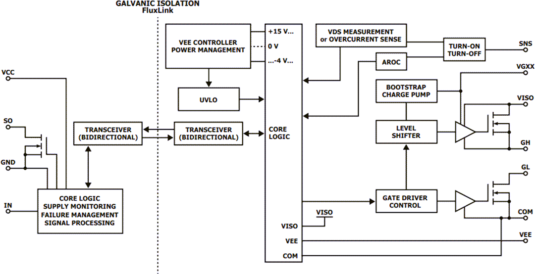
Block Diagram
Typical Application Circuit
