Renesas Electronics RZ/N1L 32-bit Microcontrollers
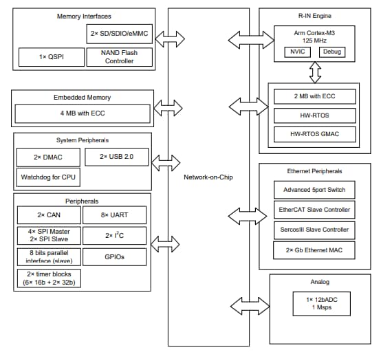
Renesas Electronics RZ/N1L 32-bit Microcontrollers are industrial communication embedded solution based on dual 500MHz Arm® Cortex®-A7 CPU, and Cortex®-M3 at 125MHz. These MCUs offer 32kHz RTC oscillator frequency. The RZ/N1L MCUs feature on-chip FPU, up to 6Mbytes of on-chip extended SRAM with ECC, and extended Ethernet functionalities including an advanced 5 port Ethernet switch. These MCUs also feature independent Ethernet GMAC, and support for EtherCAT®, Sercos®, Profinet®, ETHERNET Powerlink®, EtherNet/IP™, DLR, PRP, and HSR.Features
- On-chip 32-bit Arm Cortex-A7 MPCore:
- Up to 500MHz
- Single or dual core
- FPU, VFPv4-D16
- MMU
- L1 cache 16KB (instruction)/16KB (data) per core
- L2 cache up to 256KB
- On-chip 32-bit Arm Cortex-M3 processor:
- Up to 125MHz
- Memory Protection Unit (MPU) supported
- Low power features:
- Clock gating management
- Clock frequency scaling
- On-chip extended SRAM:
- Up to 6MB with ECC
- Data transfer:
- 2 x DMAC with 8 channels each
- Memory interfaces:
- Up to 2 x quad SPI/XIP
- NAND flash with advanced ECC management
- 16-bit DDR interface (DDR2-500/DDR3-1000)
- Up to 2 x SD/SDIO/eMMC
- R-IN engine:
- Arm Cortex-M3 CPU
- Hardware RTOS accelerator (HW-RTOS)
- Hardware Ethernet accelerator
- Advanced real-time Ethernet features:
- SercosIII slave controller
- EtherCAT 3 ports slave controller
- Advanced 5 (4 + 1) port switch (A5PSW)
- Switch 5 ports with QoS and IEEE1588
- Up to 5Gbit ports
- PRP compliant to IEC62439-3 Ed2.0-2012 (option)
- Switch 5 ports with QoS and IEEE1588
- HSR compliant to IEC62439-3 Ed2.0-2012 (option)
- Up to 2 independent GMAC and IEEE1588
- Up to 5 external ports with MII/RMII/RGMII
Additional Resources
Block Diagram
發佈日期: 2020-10-14
| 更新日期: 2023-05-31
