Renesas Electronics SAP51 Universal Actuator-Sensor Interface IC
Renesas Electronics SAP51 Universal Actuator-Sensor Interface IC is a CMOS integrated circuit for AS-I networks. The low-level field bus AS-I (Actuator Sensor Interface) is designed for the easy and safe interconnection of sensors, actuators, and switches. This device transports both power and data over the same two-wire unshielded cable. The Renesas Electronics SAP51 is used as a part of a master or slave node and works as an interface to the physical bus.Features
- Compliant with ASI complete specification V3.0
- Integrated safety code generator (SAP5S only)
- Universal application: in slaves, masters, repeaters, and bus-monitors
- On-chip electronic inductor: 55mA current drive capability
- Two LED outputs to support Spec. V3.0 status indication modes
- User-programmable to operation in Standard Slave Mode, Safety Mode, or Master Mode
- Supports 5.33/16MHz crystals by automatic frequency detection
- Data pre-processing functions
- -25°C to +85°C operational temperature range
- Special burst protection circuitry
- Excellent electromagnetic compatibility
- Clock and communication watchdogs for high system security
Applications
- S-I Master modules
- AS-I Slave modules
- AS-I Safety modules (SAP5S only)
Standard Application
Safety Mode Slave Application
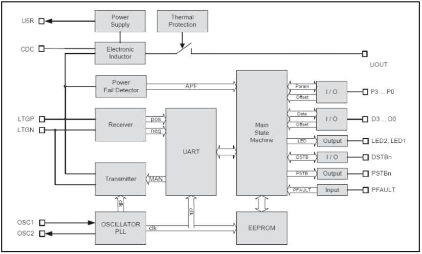
Functional Block Diagram
發佈日期: 2015-01-21
| 更新日期: 2022-10-11
