Semtech GS3241 3G-SDI Reclocking Adaptive Cable Equalizers
Semtech GS3241 3G-SDI Reclocking Adaptive Cable Equalizers offer low-power, multi-rate re-timing that supports rates up to 3G -SDI. The GS3241 is intended to equalize and restore signals received over a 190m coaxial cable at 3G, compensate for DC content of SMPTE pathological signals, and re-time the incoming data. With an integrated eye monitor, the Semtech GS3241 offers a non-disruptive mission mode analysis of the post-equalized input signal. The 256x128 resolution scan matrix permits accurate signal analysis, resulting in accelerated prototyping and field analysis.The GS3241 Cable Equalizers feature built-in macros, which customize cross-section analysis and horizontal/vertical eye-opening measurements at a fast pace. Two independently controlled trace drivers provide highly configurable pre-emphasis and swing controls to compensate for long trace and connector losses. The GS3241 is pin-compatible with the GS12141 and GS12241 single input, as well as the GS12142 dual input 12G UHD-SDI Multi-rate Re-timing Cable Equalizers.
Features
- Cable Equalizer
- Automatic power down on loss of signal
- Programmable carrier detect with squelch threshold adjustment
- Programmable launch swing compensation for non-compliant source
- Manual and automatic cable equalizer bypass
- Trace Driver
- Integrated 100Ω, differential output termination
- Extends output DC-coupling support with 1.2V to 2.5V output supply range
- Trace driver data output pre-emphasis to compensate for up to 60” FR4 at 2.97Gb/s
- Manual or automatic re-timer bypass
- Manual or automatic mute or disable on LOS
- CDR
- Manual or automatic rate modes
- Wide Loop bandwidth control
- Re-timing at the following data rates: 125Mb/s, 270Mb/s, 1.485Gb/s, and 2.97Gb/s-this includes the f/1.001 rates
- 75Ω cable input interface with on-chip termination
- SMPTE ST 424, ST 292-1 and ST 259 compliant input/output
- Multi-standard operation from 1Mb/s to 2.97Gb/s
- In addition to standard SMPTE rates, the device also supports re-timing of DVB-ASI at 270Mb/s, and MADI at 125Mb/s
- 3D Input Signal Eye Monitor
- PRBS generator and checker
- Automatic cable equalization-typical equalized cable lengths of Belden 1694A cable:
- 190m at 2.97Gb/s
- 260m at 1.485Gb/s
- 450m at 270Mb/s and 125Mb/s
Applications
- SMPTE ST 424 interface
- SMPTE ST 292 interface
- SMPTE ST 259 interface
- Cameras
- Switchers
- Distribution amplifiers
- Routers
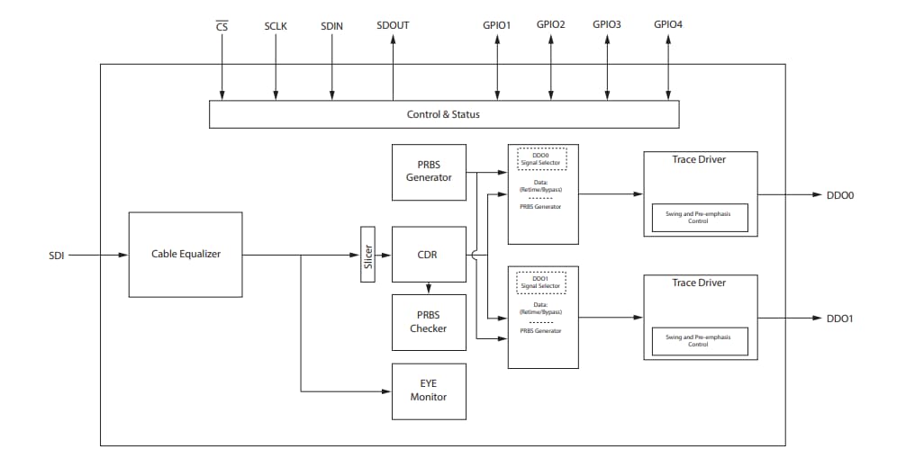
Functional Block Diagram
發佈日期: 2020-07-01
| 更新日期: 2024-12-05
