Silicon Labs C8051F58x Automotive & Industrial MCUs
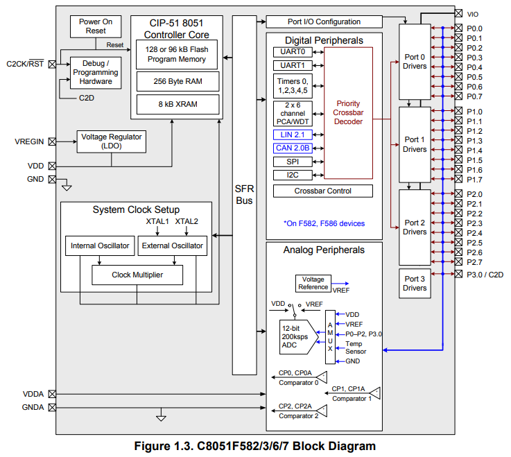
Silicon Labs C8051F58x Automotive and Industrial MCUs are fully integrated mixed-signal System-on-Chip MCUs with up to 50 MIPS high-speed pipelined 8051-compatible microcontroller core. These automotive MCUs feature on-chip non-intrusive debug interface, six general-purpose 16-bit timers, an on-chip voltage regulator, a temperature sensor, and two Programmable Counter/Timer Array (PCA) modules. The flash memory provides non-volatile data storage as it can be reprogrammed in-circuit and also allows 8051 firmware field upgrades. The on-chip 2-Wire (C2) development interface allows non-intrusive, full speed, in-circuit debugging using the production MCU installed in the final application. All inspection and modification of memory and registers, single-stepping, setting breakpoints, run, and halt commands are supported by this debug logic. The Silicon Labs C8051F58x MCUs are ideal for fluid level monitoring, seat position and adjustment, window lift, parking assistance, climate control, motor control, and sensor interface automotive applications.Features
- 50MIPS 8051 MCU
- 96 or 128kB flash memory
- On-chip debug
- 8kB RAM
- 24MHz onboard oscillator with clock multiplier
- 12-bit ADC
- Up to 40 digital I/O
- Two UART, SPI, and I2C interfaces
- Up to 32 analog inputs
- 1.8V to 5.25V input supply
- Internal programmable oscillator
- External oscillator
- Two on-chip comparators and temperature sensor
- -40°C to 125°C operating temperature range
- Packages
- 48-Pin QFP/QFN
- 40-Pin QFN
- 32-Pin QFP/QFN
Applications
- Fluid level monitoring
- Seat position and adjustment
- Window lift
- Parking assistance
- Climate control
- Motor control
- Sensor interfaces
Datasheets
發佈日期: 2009-04-28
| 更新日期: 2025-10-23
