ISO808驅動器包括額外的外殼溫度感測器,以保護整個晶片免受過熱(OVC事件)的影響。未過載的通道將繼續正常運作。這些驅動器還包括接地保護、VCC和VDD UVLO(帶滯回特性的)以及內建的看門狗功能。ISO808驅動器用於可程式邏輯控制、工業PC周邊輸入/輸出和數控機器。
特點
- 感應負載的快速消磁VDEMAG(TYP)=VCC - 54V
- 低過程和邏輯側電源電流
- 低電壓關機,具備自動重新啟動和滯回特性
- 邏輯側5V和3.3V TTL/CMOS和微控制器相容的輸入/輸出
- 通用輸出啟用/停用接腳
- IC輸出禁用重設功能
- 高共模暫態抗擾性
- 每個通道的過熱保護,各通道之間具有熱獨立性
- 外殼過熱保護
- 過電壓保護(VCC箝位)
- 失去GND和VCC保護
- 常見故障開漏診斷
- 設計符合IEC 61000-4-2、IEC 61000-4-4、IEC 61000-4-5和IEC 61000-4-8標準
- UL1577和UL508認證
- PowerSO-36封裝
規格
- 最大處理階段電源電壓:45V
- 處理器側操作範圍:9.2VCC至36VCC
- 每溝道0.125Ω開路狀態電阻(典型值)RDS(ON)
- 輸出溝道的短路保護:
- ISO808 ILIM(MIN) = 0.7A
- ISO808 ILIM(MIN) = 1A
- 每溝道處理器側操作電流:
- ISO808 IOUT <0.7A
- ISO808-1 IOUT <1A
應用
- 適用於各類負載的驅動程器:
- 電阻式
- 電容式
- 感應式
- 可程式邏輯控制
- 工業電腦周邊輸入/輸出
- 數控機床
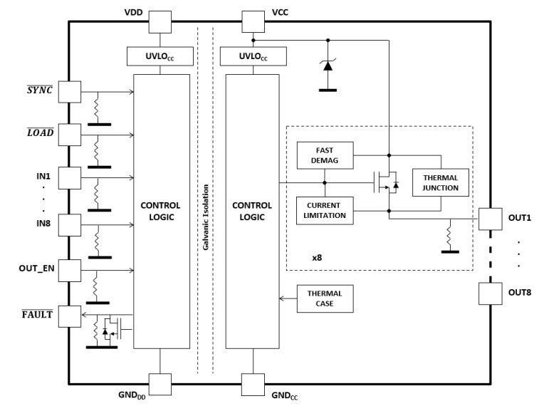
方塊圖
發佈日期: 2023-01-20
| 更新日期: 2025-08-08

