STM32WB09整合了運行頻率高達64MHz的Arm® Cortex®-M0+微處理器,以及用於BLE時序關鍵操作的無線電內核協處理器 (基於DMA)。此外,STM32WB09還透過專用硬體功能提供增強的安全硬體支援:支援NIST特別出版品800-90B的真隨機數發生器 (TRNG)、用於128位元AES加密的安全輔助處理器、CRC計算單元、64位元唯一ID、快閃記憶體讀寫保護,以及公開金鑰加速器 (PKA)。
STM32WB09可配置為支援單機或網路處理器應用。在第一種配置中,STM32WB09作為單一裝置運行應用程式碼和BLE堆疊。STM32WB09嵌入了以下高速記憶體類型: 512Kbyte快閃記憶體、64Kbyte RAM、1Kbyte一次性可編程 (OTP) 記憶區和7Kbyte ROM(ST保留區)。記憶體與週邊之間以及記憶體與記憶體之間的直接資料傳輸由8個DMA通道支援,DMAMUX週邊提供完整彈性的通道映射。
STM32WB09嵌入了一個12位元ADC,允許測量多達八個外部來源和三個內部來源,包括電池監控和溫度感測器。STM32WB09具有低功耗RTC和一個先進的16位元計時器。STM32WB09具有標準和先進的通訊介面:1個SPI-I2、LPUART、1個支援ISO 7816 (智慧卡模式)、IrDA和Modbus模式的 USART、2個支援SMBus/PMBus的I2C。
STM32WB09的工作溫度範圍為-40°C至+105°C(結合溫度為+125°C),使用1.7V至3.6V電源供應。一套完整的省電模式有助於配置低功耗應用。STM32WB09集成了一個高效率SMPS降壓轉換器和一個具有固定閥值的集成PDR電路,當VDD降至1.65V以下時會產生器件復位。STM32WB09採用VFQFPN32和WLCSP36封裝,最多可支援20個I/O。
特點
- 包含ST最先進的專利技術
- Bluetooth低功耗片上系統,支援Bluetooth 5.4規格
- 2Mbit/s數據速率
- 長距離(編碼PHY)
- 廣告延伸
- 頻道選擇演算法#2
- GATT快取
- 尋向 - 到達角 (AoA)/ 離開角 (AoD)
- 同時連線
- 同時連結層角色
- 低能量資料封包長度延長
- 低能量ping程序
- 定期廣告與定期廣告同步傳輸
- 有回應的定期廣告
- 廣告編碼選擇
- 加密廣告
- 低能量L2CAP連線導向通道
- 低能量功率控制和路徑損失監控
- 低能量頻道分類
- 增強ATT (EATT)
- 連接分級
- 廣播同步流 (BIS)
- 連接同步流 (CIS)
- 無線電
- 1Mbit/s 時的 RX 靈敏度等級為 -97dBm,125Kbit/s 時為 -104dBm(長距離)
- 可程式輸出功率高達 +8dBm(在天線連接器) 128 個實體連接
- 支援 2Mbit/s、1Mbit/s、500Kbit/s 及 125Kbit/s 的資料傳輸速率
- 整合式平衡器
- 支援外部 PA 和 LNA
- BlueNRG 核心輔助處理器 (以 DMA 為基礎),用於 Bluetooth Low Energy 的關鍵時間作業
- 2.4GHz 專屬無線電驅動程式
- 適用於需要符合下列無線電頻率規範的系統: ETSI EN 300 328、EN 300 440、FCC CFR47 第 15 部分、ARIB STD-T66
- 可用的整合式無源裝置 (IPD) 伴隨晶片,可提供最佳化的匹配與濾波功能
- 超低功耗無線電效能
- 關機模式 (1.8V) 下為 12nA
- 0.9µA 於深度停止模式 (使用外部 LSE、無線電喚醒源及保留 RAM,1.8V)
- 1.2µA 於深度停止模式 (使用內部 LSI、無線電喚醒源,並保留 RAM,1.8V)
- TX 峰值電流 4.9mA (0dBm 時,3.3V)
- RX 中峰值電流為 3.6mA(靈敏度等級,3.3V)
- 高效能、超低功耗 32 位元 Arm Cortex-M0+,運行頻率高達 64MHz
- 工作電源電壓為 1.7V 至 3.6V
- 增強的安全機制,例如
- 快閃記憶體讀/寫保護
- SWD禁用
- 安全開機載入程式
- 動態電流消耗:14.47µA/MHz
- -40°C至105°C的溫度範圍
- 電源和重設管理
- 高效率嵌入式SMPS降壓轉換器,具備智慧型旁路模式
- 超低功耗上電復位 (POR) 和掉電復位 (PDR)
- 可程式電壓偵測器 (PVD)
- 時脈來源
- 64MHz PLL
- 故障安全32MHz晶體振盪器,內建微調電容
- 32kHz晶體振盪器
- 內建低功耗32kHz RO
- 內建512KB非揮發性快閃記憶體,具有R/W頁面保護功能
- 64KB片上RAM和4KB PKA RAM
- 1K字節的一次性可編程 (OTP) 記憶區
- 嵌入式UART開機載入程式
- 有或無計時器和RAM保留的超低功耗模式
- 正交解碼器
- 安全功能
- 符合NIST特別出版品800B-90B的真正隨機數字產生器 (TRNG)
- 硬體加密AES最高128位元安全協處理器
- 硬體公開金鑰加速器 (PKA)
- 密碼演算法: RSA、Diffie-Helman、ECC over GF(p)
- CRC計算單元
- 64位元唯一ID
- 系統週邊
- 1個DMA控制器,具備8個通道,支援ADC、SPI、12C、USART、LPUART、計時器
- 1個SPI,具備I2S介面多工功能
- 1個I2C (SMBus/PMBus)
- 1個LPUART(低功耗)
- 1個USART (ISO 7816 智慧卡模式、IrDA、SPI 主端和 Modbus)
- 1個獨立WDG
- 1個即時時鐘 (RTC)
- 1個獨立SysTick
- 1個16位元四通道一般用途計時器
- 2個16位元兩通道一般用途計時器
- 紅外線介面
- 最多20個快速V/O
- 全部具有喚醒功能
- 全部在低功耗模式下保持狀態
- 全部具有5V容差
- 類比周邊設備
- 具有8個輸入通道的12位元 ADC,透過向下取樣器可達16位元
- 電池監控
- 類比看門狗
- 開發支援
- 串列線路除錯 (SWD)
- 4個斷點及2個看守點
- 所有封裝皆符合ECOPACK2規範
應用
- 工業應用
- 家庭與工業自動化
- 資產追蹤、ID定位及即時定位系統
- 智慧照明
- 輔助生活
- 健身、健康與運動
- 健康照護與消費性醫療
- 安全/近程感測
- 遙控
- 行動電話周邊設備
- PC週邊設備
電路圖
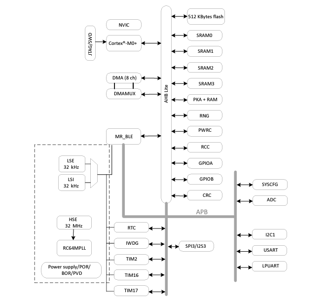
方塊圖

