Texas Instruments AFE4432 Integrated Analog Front End (AFE)
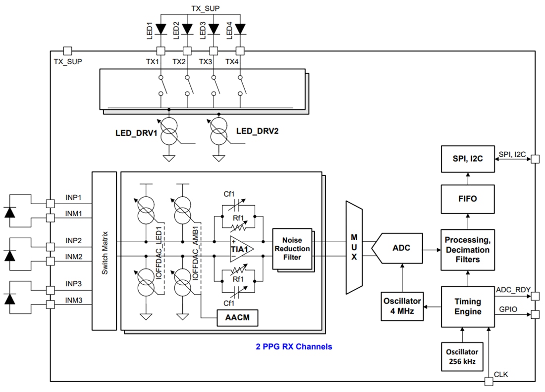
Texas Instruments AFE4432 Integrated Analog Front End (AFE) is for optical bio-sensing applications, such as heart-rate monitoring (HRM) and saturation of peripheral capillary oxygen (SpO2). The device supports up to 4 switching light-emitting diodes (LEDs) and up to three photodiodes (PDs). The AFE has two LED drivers, each with 8-bit current control. The Texas Instruments AFE4432 has a high dynamic range transmit-and-receive circuitry that helps with sensing very small signal levels. Up to 12 signal phase sets can be defined, each phase set comprising a combination of LED and Ambient phases. Low noise offset DACs at the receiver inputs can be automatically controlled to cancel DC from Ambient and LED light. The current from the PDs in each phase is converted into voltage by TIAs, filtered, and then digitized using a typical ADC. The ADC code can be stored in a 160-sample FIFO block. The FIFO can be read out using an SPI or I2C interface.Features
- Supports signal acquisition of up to 12 phase sets
- Supports up to 4 LEDs, 3 PDs
- Flexible allocation of LEDs and PDs in each phase
- Simultaneous signal acquisition from different sensors at different data rates
- Accurate, continuous PPG monitoring
- Low current for continuous heart-rate monitoring on a wearable device with a typical value (12µA for the receiver)
- Peak system SNR of 115dB in 0.5-10Hz band enables high-accuracy SpO2 measurement
- Transmitter
- 8-Bit Programmable LED current with range adjustable from 25mA to 250mA
- Mode to fire two LEDs in parallel with independent per-phase current control
- Programmable LED on-time per-phase
- Simultaneous support of 4 LEDs for SpO2, Multi-Wavelength HRM
- Receiver
- Supports 3 Time-Multiplexed PD Inputs
- Two parallel receivers (two sets of TIA/filter)
- Individual ambient offset subtraction DAC at each TIA Input with 8-bit per-phase control and range adjustable up to 255µA
- Individual LED offset subtraction DAC at each TIA input with 9-bit per-phase control and 64µA range
- Digital ambient subtraction at ADC output
- Noise filtering with programmable bandwidth
- Transimpedance gain: 3.7kΩ to 1MΩ
- Supports external clock or internal oscillator
- Option to acquire data synchronized with a system clock
- Automatic cancellation of DC from Ambient, LED
- FIFO with 160-sample depth
- SPI™ interface/ I2C interface
- 1.9mm × 1.8mm DSBGA, 0.35mm Pitch
- Supplies
- Rx: 1.7V to 1.9V
- Tx: 3V to 5.5V
Applications
- Optical Heart-Rate Monitoring (HRM) for wearables, hearables
- Heart-Rate Variability (HRV)
- Pulse Oximetry (SpO2) measurements
Block Diagram
發佈日期: 2022-10-04
| 更新日期: 2022-11-02
