Texas Instruments AFEx3902-Q1 Smart Analog Front Ends (AFEs)

Texas Instruments AFEx3902-Q1 Smart Analog Front Ends (AFEs) are dual-channel, smart analog front ends (AFE) targeted for multislope thermal foldback of LED lighting. The output of LED lights reduce with an increase in temperature. Multislope thermal foldback helps maintain a steady light output from LEDs, irrespective of temperature change, while limiting the LED temperature to programmed thresholds.

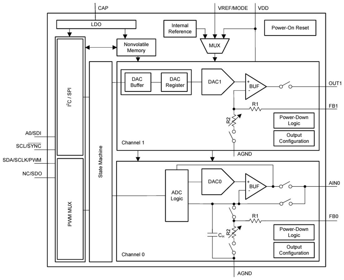
The AFEx3902-Q1 has an ADC for temperature input and a DAC or PWM generator as an output. These devices have an integrated state machine preprogrammed as a multislope thermal foldback controller. The AFEx3902-Q1 is an excellent choice for thermal foldback of automotive rear lights, headlights, and horticulture lights. The Texas Instruments AFEx3902-Q1 work independently from the parameters programmed into the NVM and thus enable these smart AFEs for processor-less applications and design reuse. These devices also automatically detect I2C or SPI and have an internal reference.

Features

  • AEC-Q100 qualified for automotive applications
    • Temperature grade 1 (–40°C to +125°C, TA)
  • Multi-slope thermal foldback
    • 10-bit analog-to-digital converter (ADC) input
    • Digital-to-analog converter (DAC) output
      • 10-bit (AFE53902-Q1)
      • 8-bit (AFE43902-Q1)
    • Pulse Width Modulation (PWM) output with a 7-bit duty cycle
    • Standalone operation from nonvolatile memory (NVM)
    • Look-up table (LUT) based parameter configuration
    • Piecewise-linearizer for thermistor
  • Automatically detects I2C or SPI
    • 1.62V VIH with VDD = 5.5V
  • VREF/MODE pin selects between programming and standalone modes
  • User-programmable NVM
  • Internal, external, or VDD reference
  • Wide operating range
    • 1.8V to 5.5V power supply
  • 16-pin WQFN (3mm × 3mm) tiny package

Applications

  • Automotive rear light
  • Automotive headlight

Functional Block Diagram

Block Diagram - Texas Instruments AFEx3902-Q1 Smart Analog Front Ends (AFEs)
發佈日期: 2023-10-16 | 更新日期: 2025-03-11