CC3235x SimpleLink™系列具備網路處理器,可執行所有的Wi-Fi與網際網路邏輯層。其以ROM為基礎的子系統可完全卸除主機MCU的負載,並內含802.11a/b/g/n雙頻段2.4 GHz和5 GHz無線電、基頻和MAC,同時具備功能強大的硬體加密引擎。CC3235x裝置搭載的新功能可簡化物聯網應用的連線作業,這些功能包括802.11a (5 GHz) 支援、BLE/2.4 GHz無線電共存、天線選擇、FIPS 140-2 Level 1認證的強化安全性、最多16個同時安全插槽,以及憑證簽署請求 (CSR)。
特點
- 多核心架構、系統單晶片 (SoC)
- 802.11 a/b/g/n:2.4GHz與5GHz
- FIPS 140-2 Level 1認證
- 多層式安全功能,可幫助開發人員保護身分、資料和軟體IP
- 低功率模式適合電池供電應用
- 與2.4 GHz無線電共存
- 工業級溫度:-40°C至+85°C
- Wi-Fi Alliance®的Wi-Fi CERTIFIED™
- 應用微控制器子系統:
- Arm® Cortex®-M4核心80MHz
- 使用者專用記憶體
- 256KB RAM
- 可選購1 MB可執行快閃記憶體
- 豐富的周邊裝置組和計時器
- 27個I/O腳位,含彈性的多工選項
- UART、I2S、I2C、SPI、SD、ADC、8位元平行介面
- 計時器和PWM
- Wi-Fi網路處理器子系統:
- Wi-Fi®核心:
- 802.11 a/b/g/n 2.4GHz和5GHz
- 模式:
- 存取點 (AP)
- 基地台 (STA)
- Wi-Fi Direct®(僅支援於2.4 GHz)
- 安全性:
- WEP
- WPA™/WPA2™ PSK
- WPA2企業版
- 網際網路與應用程式通訊協定:
- HTTPs伺服器、mDNS、DNS-SD、DHCP
- IPv4和IPv6 TCP/IP堆疊
- 16個BSD插槽(全加密TLS v1.2和SSL 3.0)
- 內建電源管理子系統:
- 可組態低功率設定檔(隨時、間歇、標籤)
- 進階低功率模式
- 內建DC/DC穩壓器
- Wi-Fi®核心:
- 多層式安全功能:
- 獨立執行環境
- 網路安全性
- 裝置身分與金鑰
- 硬體加速器密碼引擎(AES、DES、SHA/MD5、CRC)
- 應用程式層級安全性(加密、驗證、存取控制)
- 初始加密程式設計
- 軟體竄改偵測
- 安全開機
- 憑證簽署請求 (CSR)
- 唯一的每裝置金鑰組
- 應用程式處理量:
- UDP:16 Mbps,TCP:13 Mbps
- 峰值:72Mbps
- 電源管理子系統:
- 整合DC/DC轉換器,支援各種供應電壓:
- VBAT寬電壓模式:2.1V至3.6V
- VIO永遠與VBAT連結
- 進階低功率模式:
- 關機:1 µA,休眠:4.5µA
- 低功耗深層睡眠 (LPDS):120µA
- 閒置連線(MCU進入LPDS):710µA
- RX流量(MCU作用中):59mA
- TX流量(MCU作用中):223mA
- 整合DC/DC轉換器,支援各種供應電壓:
- Wi-Fi TX功率:
- 2.4 GHz:18.0 dBm,1 DSSS
- 5 GHz:18.1 dBm,6 OFDM
- Wi-Fi RX靈敏度:
- 2.4 GHz:–96 dBm,1 DSSS
- 5 GHz:–92 dBm,6 OFDM
- 時脈來源:
- 40.0MHz晶體,內部振盪器
- 32.768kHz晶體或外部RTC
- RGK封裝
- 64腳位,9 mm × 9 mm,超薄四方扁平無引線 (VQFN) 封裝,0.5 mm間距
- 裝置支援SimpleLink™ MCU平台開發人員生態系統
應用
- 物聯網
- 大樓與家庭自動化:
- HVAC系統與溫度調節器
- 影像監控、影像門鈴和低功耗攝影機
- 大樓保全監控系統與電子鎖
- 家電
- 資產追蹤
- 工廠自動化
- 醫療保健
- 電網基礎架構
- 大樓與家庭自動化:
影片
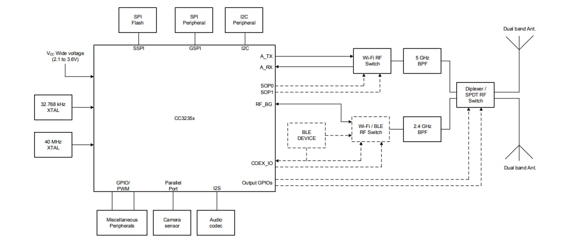
功能方塊圖
硬體概觀
發佈日期: 2019-02-19
| 更新日期: 2024-05-16

