Texas Instruments DS280DF810 28Gbps 8-Channel Retimer
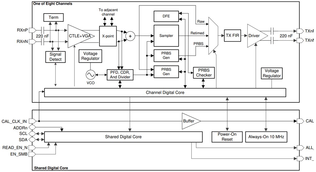
Texas Instruments DS280DF810 28Gbps 8-Channel Retimer is used to extend the reach and robustness of long, lossy, crosstalk-impaired high-speed serial links while achieving a bit error rate (BER) of 10-15 or less. Each channel of the DS280DF810 independently locks to serial data rates in a continuous range from 20.2 Gbps to 28.4Gbps or to any supported sub-rate (÷2 and ÷4). This includes key data rates such as 10.1376Gbps, 10.3125Gbps, and 12.5Gbps, which allows the DS280DF810 to support individual lane Forward Error Correction (FEC) pass-through. Integrated physical AC coupling capacitors (TX and RX) eliminate the need for external capacitors on the PCB. The Texas Instruments DS280DF810 has a single power supply and minimal need for external components. These features reduce PCB routing complexity and BOM cost.Features
- Octal-channel multi-rate retimer with integrated signal conditioning
- All channels lock independently from 20.2Gbps to 28.4Gbps (including sub-rates like 10.1376Gbps, 10.3125Gbps, 12.5Gbps, and more)
- <500 ps typical for 28.4 Gbps data rate ultra-low latency
- Single power supply, no low-jitter reference clock required, and integrated AC coupling capacitors to reduce board routing complexity and BOM cost
- Integrated 2×2 cross point
- Adaptive Continuous Time Linear Equalizer (CTLE)
- Adaptive Decision Feedback Equalizer (DFE)
- Low-jitter transmitter with 3-Tap FIR filter
- Combined equalization supporting 35+dB channel loss at 12.9GHz; 30+dB channel loss at 14GHz
- 205mVppd to 1225mVppd (typical) adjustable transmit amplitude
- On-chip Eye Opening Monitor (EOM), PRBS pattern checker/generator
- Small 8mm × 13mm BGA package with easy flow-through routing
- Unique pinout allows routing of high-speed signals underneath the package
- Pin-compatible repeater available
- -40ºC to 85ºC extended temperature range
Applications
- Backplane and mid-plane reach extension
- IEEE802.3bj 100GbE, Infiniband EDR, and OIFCEI-25G-LR/MR/SR/VSR electrical interfaces
- Jitter cleaning for front-port optical
- SFP28, QSFP28, CFP2/CFP4, CDFP
Functional Block Diagram
發佈日期: 2017-01-13
| 更新日期: 2022-03-15
