IWR2243是一款完整的FMCW收發器單晶片解決方案,可簡化雷達感測器的實作。採用TI的低功耗45 nm RFCMOS製程,在單片實作內實現內建ADC轉換器和PLL的3TX、4RX系統。本裝置提供簡易的程式設計模型變更,可實現各種感測器實作,還能動態重新配置以實現多模感測器。IWR2243裝置支援多重裝置的串接連接,此功能強化了角分辨率,能滿足高效能雷達感測器的開發。
特點
- FMCW收發器
- 整合PLL、發射器、接收器、基頻和ADC
- 覆蓋範圍:76 GHz至81 GHz,5 GHz可用頻寬
- 四個接收通道
- 三個發射通道
- 基於分數-N型PLL的超精準線性調頻引擎
- TX功率:13 dBm
- RX雜訊係數:13 dB
- 1 MHz時的相位雜訊
- -96dBc/Hz(76 GHz至77 GHz)
- -94dBc/Hz(77 GHz至81 GHz)
- 內建校正和自我測試
- 內建韌體 (ROM)
- 跨頻率和溫度的自我校正系統
- 主機介面
- 控制介面透過SPI或I2C介面連接外部處理器
- 資料介面透過MIPI D-PHY和CSI2 v1.1連接外部處理器
- 故障中斷報告
- 功能安全性相容
- 針對功能安全性應用開發
- 提供可協助設計最高至SIL 3的IEC 61508功能安全性系統的文件
- 硬體完整性最高達SIL-2
- 安全相關認證
- 通過TUV SUD最高至SIL 2的IEC 61508認證
- IWR2243進階功能
- 嵌入式自我監控,限定主機處理器介入
- 複雜的基頻架構
- 可選擇串接多重裝置以增加通道數
- 嵌入式干擾偵測功能
- 電源管理
- 內建LDO網路,可強化PSRR
- I/O支援雙電壓:3.3V/1.8V
- 時脈來源
- 支援40 MHz的外部驅動時脈(方波/正弦波)
- 支援40 MHz晶體連接負載電容器
- 方便的硬體設計
- 0.65 mm間距,161腳位,10.4 mm×10.4 mm層倒裝晶片BGA封裝,適用於方便組裝和低成本的PCB設計
- 小巧的解決方案尺寸
- 接面溫度範圍:-40°C至105°C
應用
- 用於測量範圍、速度和角度的工業感測器
- 機器人
- 流量監控
- 保全與監控
- 工廠自動化安全防護
- 採用串接配置的成像雷達
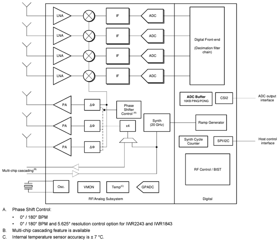
功能方塊圖
發佈日期: 2024-01-19
| 更新日期: 2024-01-31

