Texas Instruments MSP430F563x 混合訊號微控制器

Texas Instruments MSP430F563x 混合訊號微控制器包含多種裝置,具有用於多種應用的不同周邊設備。其架構結合豐富的低功率模式,經過優化,可在便擕式測量應用中延長電池壽命。16 位 RISC 架構結合 5 種低功率模式,經過優化,可在便擕式測量應用中延長電池壽命。MSP430F563x 具有強大的 16 位 RISC CPU、16 位寄存器及常數發生器,可獲得最大的代碼效率。數位控制振盪器 (DCO) 可讓裝置在 3 µs(典型值)時從低功率模式喚醒至活動模式。

TI MSP430F563x 混合訊號微控制器提供高性能 12 位 ADC、比較器、兩個 USCI、USB 2.0、硬體乘法器、DMA、四個 16 位定時器、一個具有警報功能的 RTC 模組,以及多達 74 個 I/O 引腳。

特點

  • 低電源電壓範圍:1.8V 至 3.6V
  • 超低功耗
    • 有源模式 (AM):
      • 所有系統時鐘在 8MHz、3.0V、閃存程式執行(典型值)時以 270µA/MHz 有源
    • 待機模式 (LPM3):
      • 具有晶體和電源監控功能的看門狗,全面 RAM 保留,2.2V 時喚醒速度為 1.8µA,3.0V 時為 2.1µA (典型值)
    • 關機實時時鐘 (RTC) 模式 (LPM3.5) 1.1µA 為 3.0V(典型值)關機模式,附帶晶體的有源 RTC
    • 0.3µA(典型值)關機模式 (LPM4.5)
  • 在 3µs(典型值)中從待機模式中喚醒
  • 16 位元 RISC 架構,擴展內存,最高至 20MHz 系統時鐘
  • 靈活電源系統管理
    • 附可編程調製核心電源電壓的全集成 LDO
    • 電源電壓監管、控制和降壓
  • 統一時鐘系統
    • 用於頻率穩定的 FLL 控制迴路
    • 低功率、低頻內部時鐘源 (VLO)
    • 低頻微調內部參考源 (REFO)
    • 32kHz 晶體 (XT1)
    • 高達 32MHz (XT2) 的高頻晶體
  • 四個 16 位計時器,具有 3、5 或 7 個捕捉/比較寄存器
  • 兩個通用串行通訊介面 (USCI)
    • USCI_A0 和 USCI_A1 每個支持增強 UART 支持自動波特酸檢測、IrDA 編碼器和解碼器、同步 SPI
    • USCI_B0 和 USCI_B1 均支持 I2C 和同步 SPI
  • 全速通用串聯區流排 (USB) 介面
    • 整合式 USB-PHY
    • 整合式 3.3V 和 1.8V USB 電源系統
    • 整合式 USB-PLL
    • 八個輸入和八個輸出端點
  • 12位元類比至數位轉換器 (ADC)、內部參考、取樣和保持及自動掃描功能
  • 雙路 12 位數位至類比轉換器 (DAC),具有同步功能
  • 電壓比較器
  • 硬件乘法器支持 32 位操作
  • 串聯板上編程,無需外部編程電壓
  • 6 通道內部 DMA
  • 具有電源電壓備份開關的 RTC 模組

應用

  • 類比及數位感應系統
  • 數位電機控制
  • 遙控器
  • 恒溫器
  • 數位定時器
  • 手提式儀錶

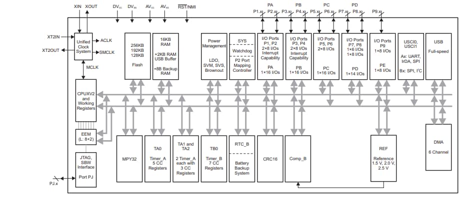
MSP430F5630/31/32 結構圖

Texas Instruments MSP430F563x 混合訊號微控制器

MSP430F5633/34/35 結構圖

Texas Instruments MSP430F563x 混合訊號微控制器

MSP430F5636/37/38 結構圖

Texas Instruments MSP430F563x 混合訊號微控制器
發佈日期: 2020-10-20 | 更新日期: 2025-07-31