|
|
|
Texas Instruments MSP430FR2000 / MSP430FR21xx混合訊號MCU
|
|
Texas Instruments MSP430FR2000 / MSP430FR21xx混合訊號微控制器 (MCU) 是超低功耗的低成本MCU,內建0.5KB至4KB容量的FRAM統一記憶體。每一款MCU均提供多種封裝選項,包括小型的3mm × 3mm VQFN封裝等。其經過最佳化的架構、FRAM和整合式周邊裝置,加上延伸的低功耗模式,能讓可攜式電池供電感測應用延長電池使用時間。MSP430FR2000和MSP430FR21xx裝置為8位元設計提供了轉移路徑,使其能從周邊裝置的整合中獲得額外的效益與功能,同時發揮FRAM在資料記錄與低功耗上的優點。現有使用MSP430G2x MCU的設計也能轉移至MSP430FR2000和MSP430F21xx系列,進一步提升其效能,取得FRAM的效益。
產品特色
- 嵌入式微控制器
- 16位元RISC架構,最高16MHz
- 寬廣的供應電壓範圍(1.8V至3.6V)
- 最佳化的低功耗模式(3V時)
- 工作模式:120µA/MHz
- 待機
- LPM3.5,VLO:1µA
- 即時時鐘 (RTC) 計數器(LPM3.5,使用32768Hz晶體):1µA
- 關機 (LPM4.5):34nA,無SVS
- 高效能類比裝置
- 8通道10位元類比轉數位轉換器 (ADC)
- 內建溫度感測器
- 內部1.5V參考
- 取樣保持200ksps
- 強化比較器 (eCOMP)
- 整合6位元DAC作為參考電壓
- 可程式遲滯
- 可組態的高功耗和低功耗模式
- 低功耗鐵電RAM (FRAM)
- 最高3.75KB的非揮發性記憶體
- 內建錯誤校正碼 (ECC)
- 可組態的寫入保護
- 程式、常式和儲存使用統一記憶體
- 1015次寫入週期耐用性
- 抗輻射,無磁性
- 智慧型數位周邊裝置
- 一個16位元計時器,含三個捕捉/比較暫存器 (Timer_B3)
- 一個16位元純計數器的RTC計數器
- 16位元循環冗餘檢查器 (CRC)
- 強化序列通訊
- 強化USCI A (eUSCI_A),支援UART、IrDA和SPI
- 時脈系統 (CS)
- 晶片內建32kHz RC振盪器 (REFO)
- 晶片內建16MHz數位控制振盪器 (DCO),含頻率鎖定迴路 (FLL)
- 晶片內建超低頻10kHz振盪器 (VLO)
- 晶片內建高頻調節振盪器 (MODOSC)
- 外接32kHz晶體振盪器 (LFXT)
- 可程式MCLK除頻器,1至128
- 透過1、2、4或8可程式除頻器從MCLK取得SMCLK
|
- 通用輸入/輸出和腳位功能
- 16腳位封裝提供12個I/O
- 8個中斷腳位(4個P1腳位和4個P2腳位)可從LPM喚醒MCU
- 所有I/O均為電容式觸控I/O
- 開發工具與軟體
- 免費的專業開發環境
- 開發套件(MSP-TS430PW20、MSP-FET430U20、MSP-EXP430FR2311和MSP-EXP430FR4133)
- 系列產品
- MSP430FR2111:3.75KB的程式FRAM + 1KB的RAM
- MSP430FR2110:2KB的程式FRAM + 1KB的RAM
- MSP430FR2100:1KB的程式FRAM + 512位元組的RAM
- MSP430FR2000:0.5KB的程式FRAM + 512位元組的RAM
- 封裝選項
- 16腳位:TSSOP (PW16)
- 24腳位:VQFN (RLL)
應用
- 家電電池組
- 煙霧與熱度偵測器
- 門窗感測器
- 光線感測器
- 功率監控
- 可攜式個人照護電子裝置
- 健康與健身裝置
|
|
|
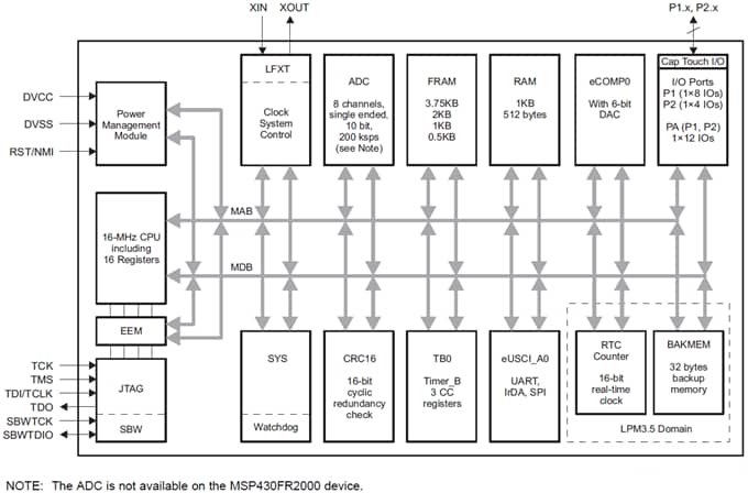
功能方塊圖
|
| 開發工具 |
 | Texas Instruments MSP-EXP430FR2311 LaunchPad開發套件是一款簡單易用的微控制器開發板,適用於MSP430FR2311 MCU。其包含了在MSP430FR2x FRAM平台上著手進行開發時所需的一切,包含內建模擬,可用於程式設計、偵錯及電能測量。電路板內建按鈕與LED,可快速整合簡易使用者介面,還有光學感測器介面,可協助您立即開始開發工作。內建預先設定的程式碼,可用來測試光線強度及整合式運算放大器的使用。使用者可輕鬆進行快速原型設計,這要歸功於20腳位插頭以及各種BoosterPack插入式模組。這些模組可提供多種技術,像是無線連接、圖形顯示器、環境感測等。 | |
 | Texas Instruments MSP-TS430PW20目標插槽開發板為獨立型的ZIF插槽目標板,可用於MSP430的程式設計和偵錯。其可經由JTAG介面在系統內執行,或經由Spy Bi-Wire(2線JTAG)通訊協定執行。此開發板支援所有採用20腳位或16腳位TSSOP封裝的MSP430FR23x和MSP430FR21x FRAM MCU。此開發板可存取所有裝置腳位,並提供指示燈LED和JTAG連接器。此開發板未隨附MSP430微控制器範例。 | |
| Texas Instruments MSP-GANG成組程式編製器是適用於MSP430/MSP432裝置的程式編製器,可同時為最多八部相同的MSP430/MSP432裝置進行程式設定。MSP成組程式編製器使用標準的RS-232或USB連線連接至主機PC。此程式編製器提供彈性的程式設定選項,可讓使用者完整自訂流程。此程式編製器隨附名為Gang Splitter的擴充板,此擴充板可在MSP成組程式編製器和多重目標裝置之間執行互連功能。擴充板隨附八條纜線,可連接八部目標裝置(透過JTAG或Spy-Bi-Wire連接器)。程式設定工作可在PC或獨立裝置上執行。 | |
|
|
發佈日期: 2017-09-20
| 更新日期: 2025-04-16