|
|
|
Texas Instruments MSP430i204x/3x/2x混合訊號微控制器
|
|
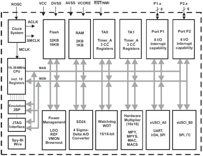
Texas Instruments MSP430i204x/3x/2x混合訊號微控制器內含一個效能強大的16位元RISC CPU、一個可產生系統時脈的DCO型時脈系統、一個內建電壓參考和電壓監控器的電源管理模組 (PMM)。這些混合訊號微控制器亦內含二至四個24位元Sigma-Delta類比轉數位轉換器 (ADC)、一個溫度感測器、一個16位元硬體乘法器、兩個16位元計時器、一個eUSCI-A模組和一個eUSCI-B模組、一個監視計時器 (WDT) 以及最多16個I/O腳位。其典型應用包括電錶、副電錶、功率監控與控制和工業感測器。
產品特色
- 供應電壓範圍2.2V至3.6V
- 16位元RISC架構,系統時脈最高16.384MHz
- 耗電量
- 工作模式 (AM)
- 頻率16.384MHz、電壓3.0V、執行快閃記憶體程式,所有系統時脈工作時,耗電量為275µA/MHz(典型值)
- 待機模式 (LPM3)
- 監視計時器啟動、全RAM保留、電壓3.0V時,耗電量210µA(典型值)
- 關機模式 (LPM4)
- 全RAM保留、電壓3.0V時,耗電量70µA(典型值)
- 關機模式 (LPM4.5)
- 1µs從待機模式快速喚醒
- 記憶體
- 最高32KB的主要快閃記憶體
- 1KB的資訊快閃記憶體
- 最高2KB的RAM
- 電源管理系統
- 整合式LDO,1.8V調節核心供應電壓
- 供應電壓監控器,可程式電位偵測
- 電壓不足偵測器
- 內建電壓參考
- 溫度感測器
- 時脈系統
- 16.384MHz內部DCO
- DCO運作使用內部或外部電阻器
- 外部數位時脈來源
|
- 最多四個24位元Sigma-Delta類比轉數位轉換器 (ADC),含差分PGA輸入
- 兩個16位元計時器,各含三個捕捉/比較暫存器
- 強化通用序列通訊介面 (eUSCI)
- eUSCI_A0
- 強化UART,支援自動鮑率偵測
- IrDA編碼器與解碼器
- 同步SPI
- eUSCI_B0
- 16位元硬體乘法器
- 序列內建程式設計,不需外部程式設計電壓
- 可程式程式碼保護
- 晶片內建模擬模組
- 提供28腳位TSSOP (PW) 和32腳位VQFN (RHB) 封裝
應用
|
|
|
功能方塊圖
|
| 開發工具 |
 | Texas Instruments EVM430-I2040S分路測量評估板 (EVM) 係專為MSP430i2040所設計。此評估模組可直接連接主電源(或DC)和負載。評估模組可測量負載的電子參數,並可從UART連接埠讀取測量結果。此評估模組隨附內建的電源供應器和隔離的序列連接,方便使用者立即開始評估嵌入式電錶應用中的MSP430-i2040。 | |
| Texas Instruments MSP-FET快閃記憶體模擬工具為高效能的模擬開發工具,有時亦稱為偵錯探針。此工具可讓使用者快速開始開發搭載MSP低功耗微控制器 (MCU) 的應用。建立MCU軟體時,通常需要將產生的二進位程式下載到MSP裝置,以進行驗證和偵錯。MSP-FET提供了主機電腦和目標MSP之間的偵錯通訊路徑,提供的回應通道UART連接適用於電腦USB介面和MSP UART,讓MSP編程器能方便地在MSP和電腦上執行的終端機之間進行序列通訊。此外,也支援透過UART和I2C通訊協定用啟動載入器 (BSL) 將程式載入到MSP目標內。 | |
| Texas Instruments MSP-GANG成組程式編製器是適用於MSP430/MSP432裝置的程式編製器,可同時為最多八部相同的MSP430/MSP432裝置進行程式設定。MSP成組程式編製器使用標準的RS-232或USB連線連接至主機PC。此程式編製器提供彈性的程式設定選項,可讓使用者完整自訂流程。此程式編製器隨附名為Gang Splitter的擴充板,此擴充板可在MSP成組程式編製器和多重目標裝置之間執行互連功能。擴充板隨附八條纜線,可連接八部目標裝置(透過JTAG或Spy-Bi-Wire連接器)。程式設定工作可在PC或獨立裝置上執行。 | |
|
|
發佈日期: 2014-11-10
| 更新日期: 2025-04-16