Texas Instruments PCM1804 Stereo Analog-to-Digital Converter
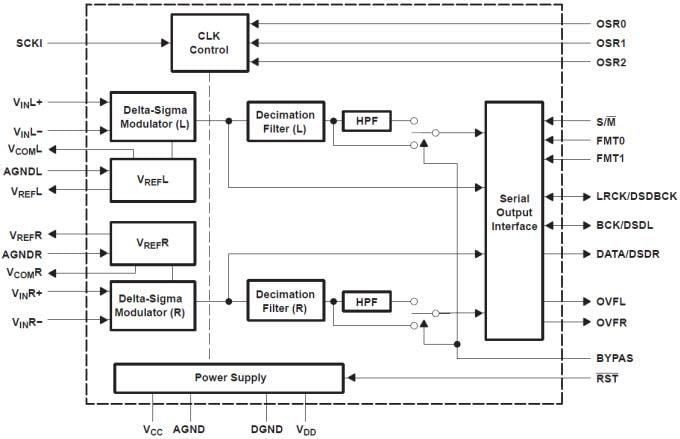
Texas Instruments PCM1804 Stereo Analog-to-Digital Converter is a high-performance, single-chip stereo A/D converter with fully differential analog voltage input. The PCM1804 uses a precision delta-sigma modulator and includes a linear phase antialias digital filter and high-pass filter (HPF) that removes dc offset from the input signal. The PCM1804 is suitable for a wide variety of mid to high-grade consumer and professional applications, where excellent performance and 5V analog supply and 3.3V digital power-supply operation are required. The PCM1804 can achieve both PCM audio and DSD format due to the precision delta-sigma modulator. The Texas Instruments PCM1804 is fabricated using an advanced CMOS process and is available in a small 28-pin SSOP package.Features
- 24-Bit Delta-Sigma Stereo A/D Converter
- High Performance
- 112dB (Typical) Dynamic Range
- SNR: 111dB (Typical)
- -102dB (Typical) THD+N
- High-Performance Linear Phase Antialias Digital Filter
- ±0.005dB Pass-Band Ripple
- -100dB Stop-Band Attenuation
- ±2.5V Fully Differential Analog Input:
- Audio Interface (Master- or Slave-Mode Selectable)
- Data Formats (Left-Justified, I2S, Standard 24-Bit, and DSD)
- Function:
- Peak Detection
- -3dB at 1Hz, fS = 48kHz High-Pass Filter (HPF)
- Sampling Rate up to 192kHz
- System Clock (128fS, 256fS, 384fS, 512fS, or 768fS)
- Dual Power Supplies
- 5V for Analog
- 3.3V for Digital
- 225mW Power Dissipation
- Small 28-Pin SSOP
- DSD Output (1 Bit, 64fS)
Applications
- AV Amplifier
- MD Player
- Digital VTR
- Digital Mixer
- Digital Recorder
Functional Block Diagram
發佈日期: 2014-09-09
| 更新日期: 2022-03-11
