Texas Instruments PCM6140-Q1 Audio ADCs
Texas Instruments PCM6140-Q1 Audio ADCs are multichannel high-performance ADCs with Burr-Brown™ technology. These ADCs feature an 8kHz to 768kHz sample rate and 122dB Signal-to-Noise Ratio (SNR). The device supports line and microphone inputs and allows single-ended and differential input configurations. These ADCs integrate programmable channel gain, digital volume control, microphone bias voltage, Phase-Locked Loop (PLL), programmable high-pass filter, biquad filters, and low-latency filter modes. The PCM6140-Q1 devices are AEC-qualified for automotive applications.The PCM6140-Q1 Audio ADCs are integrated with high-performance features and can be powered from a supply of 3.3V or 1.8V. This makes the device excellent for space-constrained audio systems in far-field microphone recording applications. These audio ADCs operate from -40°C to 125°C temperature range and come in a 24-pin VQFN package. The PCM6140-Q1 audio ADCs microphone array systems, voice-activated digital assistants, teleconferencing systems, and security and surveillance systems.
Features
- Multichannel high-performance ADCs:
- 4-channel analog microphones or line-in
- 8-channel digital PDM microphones or a combination of analog and digital microphones
- ADC line and microphone differential input performance:
- Dynamic Range (DR):
- 123dB Dynamic Range Enhancer (DRE) enabled
- 113dB DRE disabled
- -98dB THD+N
- Dynamic Range (DR):
- ADC channel summing mode, DR performance:
- 116dB, DRE disabled, 2-channel summing
- 119dB, DRE disabled, 4-channel summing
- ADC input voltage:
- Differential, 2VRMS full-scale inputs
- Single-ended, 1VRMS full-scale inputs
- ADC sample rate (fS) = 8kHz to 768kHz
- Programmable channel settings:
- Channel gain: 0dB to 42dB, 1dB steps
- Digital volume control: -100dB to 27dB
- Gain calibration with 0.1dB resolution
- Phase calibration with 163ns resolution
- Programmable microphone bias or supply voltage generation
- Low-latency signal processing filter selection
- Programmable High Pass Filter (HPF) and biquad digital filters
- Automatic Gain Controller (AGC)
- I2C or SPI controls
- Integrated high-performance audio PLL
- Automatic clock divider setting configurations
- Audio serial data interface:
- Format: TDM, I2S, or Left-Justified (LJ)
- Word length: 16-bits, 20-bits, 24-bits, or 32-bits
- Controller or target interface
- 3.3V or 1.8V single supply operation
- 3.3V or 1.8V I/O supply operation
- Power consumption for 1.8V AVDD supply:
- 8.5mW/channel at 16kHz sample rate
- 9.2mW/channel at 48kHz sample rate
Applications
- Microphone array systems
- Voice-activated digital assistants
- Teleconferencing systems
- Security and surveillance systems
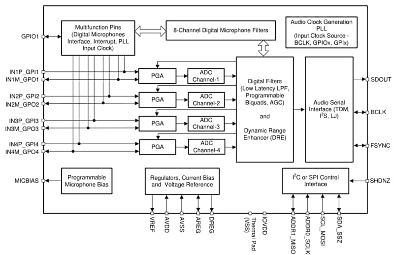
Functional Block Diagram
Additional Resource
發佈日期: 2024-04-24
| 更新日期: 2025-05-08
