Texas Instruments TCA9539x-Q1 I2C/SMBus I/O Expanders
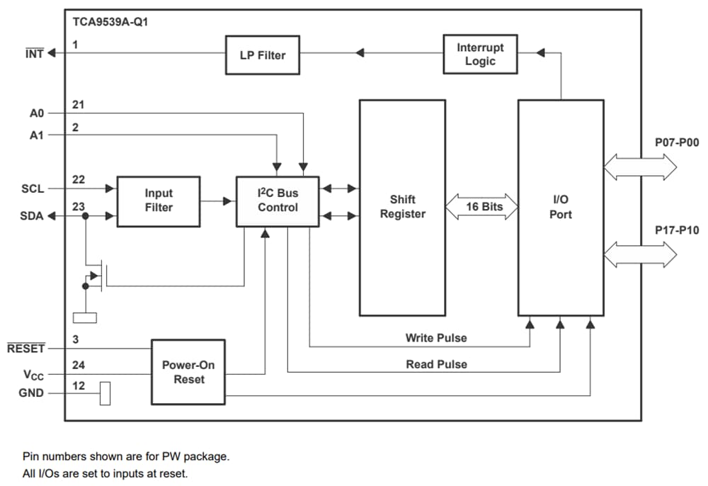
Texas Instruments TCA9539x-Q1 I2C/SMBus I/O Expanders are 24-pin devices that provide 16 bits of general-purpose parallel input and output (I/O) expansion for the two-line bidirectional I2C bus or SMBus protocol. The device can operate with a power supply voltage (VCC) range from 1.65V to 5.5V. The device supports clock frequencies of 100kHz (I2C Standard mode) and 400kHz (I2C Fast mode). I/O expanders such as the device provide a simple solution when additional I/Os are needed for switches, sensors, push-buttons, LEDs, fans, and other similar devices.The device's features include an interrupt generated on the INT pin when an input port changes state. The A0 and A1 hardware selectable address pins allow up to four devices on the same I2C bus. The device can be reset to its default state by cycling the power supply and causing a power-on reset. It also has a hardware RESET pin that can be used to reset the device to its default state.
The Texas Instruments TCA9539x-Q1 I2C I/O expander is qualified for automotive applications.
Features
- AEC-Q100 qualified for automotive applications with a temperature grade 1 of –40°C to +125°C, TA
- Functional safety-capable, with documentation available to aid in functional safety system design
- I2C to parallel port expander
- Open-drain active-low interrupt output
- Active-low reset input
- 5V-tolerant input and output ports
- Compatible with most microcontrollers
- 400kHz Fast I2C bus
- Polarity inversion register
- Internal power-on reset
- No glitch on power-up
- Address by two hardware address pins for use of up to four devices
- Latched outputs for directly driving LEDs
- Latch-up performance exceeds 100mA per JESD 78, class II
- ESD protection exceeds JESD 22
- 2000V Human-body model (A114-A)
- 1000V Charged-device model (C101)
Applications
- Automotive infotainment
- Advanced driver assistance systems (ADAS)
- Automotive body electronics
- HEV
- EV
- Powertrain
- Industrial automation
- Factory automation
- Building automation
- Test and measurement
- EPOS
- I2C GPIO expansion
Functional Block Diagram
發佈日期: 2025-09-18
| 更新日期: 2025-09-28
