Texas Instruments TMS320F280015x/TMS320F280015x-Q1 120MHz MCUs

Texas Instruments TMS320F280015x/TMS320F280015x-Q1 32-Bit 120MHz Microcontrollers (MCUs) have dual 32-bit C28x CPUs in Lockstep, enabling the device to achieve ASIL B functional safety device rating without much SW overhead. The real-time control subsystem is based on TI’s 32-bit C28x DSP core, which provides 120MHz signal-processing performance for floating- or fixed-point code running from either on-chip flash or SRAM. The C28x CPU is further boosted by the Trigonometric Math Unit (TMU) and VCRC (Cyclical Redundancy Check) extended instruction sets, speeding up common algorithms key to real-time control systems.


The Texas Instruments TMS320F280015x/TMS320F280015x-Q1 supports up to 256KB (128KW) of Flash memory. The device has up to 36KB (18KW) of on-chip SRAM and is also available to supplement the flash memory. High-performance analog blocks are integrated into the F280015x/F280015x-Q1 real-time microcontroller (MCU) and are closely coupled with the processing and PWM units to provide optimal real-time signal chain performance. Fourteen PWM channels enable control of various power stages, from a 3-phase inverter to power-factor correction and other advanced multilevel power topologies.

Interfacing is supported through various industry-standard communication ports (PMBUS, SPI, SCI, LIN, I2C, CAN, and CAN FD) and offers multiple pin-muxing options for optimal signal placement. The TMS320F280015x-Q1 devices are AEC-Q100 qualified for automotive applications.

Features

  • 32-bit lockstep dual-TMS320C28x core at 120MHz
    • IEEE 754 Floating-Point Unit (FPU)
    • Trigonometric Math Unit (TMU)
    • CRC Engine and Instructions (VCRC)
  • On-chip memory
    • 256KB (128KW) of single bank flash (ECC-protected)
    • 36KB (18KW) of RAM (ECC/Parity-protected)
    • Dual-zone security
    • Secure Boot and JTAG Lock
  • Clock and system control
    • Two internal 10MHz oscillators
    • Crystal oscillator or external clock input
    • Windowed watchdog timer module
    • Missing clock detection circuitry
    • Dual-Clock Comparator (DCC)
  • 1.2V core, 3.3V I/O design
    • Internal VREG for 1.2V generation
    • Brownout reset (BOR) circuit
  • System peripherals
    • 52 individually programmable multiplexed General-Purpose Input/Output (GPIO) pins (11 shared with Analog)
    • Ten digital inputs on analog pins
    • Enhanced Peripheral Interrupt Expansion (ePIE)
    • Multiple low-power mode (LPM) support
    • Unique Identification (UID) number
  • Communications peripherals
    • One Power-Management Bus (PMBus) interface
    • Two Inter-integrated Circuit (I2C) interfaces
    • One Controller Area Network (CAN/DCAN) bus port
    • One Controller Area Network with Flexible Data-Rate (CAN FD/MCAN) bus port
    • One Serial Peripheral Interface (SPI) ports
    • Three UART-compatible Serial Communication Interfaces (SCI)
    • One UART-compatible Local Interconnect Network (LIN) interfaces
  • Analog system
    • Two 4MSPS, 12-bit Analog-to-Digital Converters (ADCs)
      • Up to 21 external channels (11 shared with GPIO)
      • Four integrated Post-Processing Blocks (PPB) per ADC
    • One windowed comparator (CMPSS) with 12-bit reference Digital-to-Analog Converters (DACs)
      • Digital glitch filters
      • COMPDACOUT (11-bit)
    • Three windowed comparators (CMPSS_LITE) with 9.5-bit effective reference DACs
  • Enhanced control peripherals
    • 14 ePWM channels with four channels that have high-resolution capability (150ps resolution)
      • Integrated dead-band support
      • Integrated hardware trip zones (TZs)
    • Three Enhanced Capture (eCAP) Modules
    • Two Enhanced Quadrature Encoder Pulse (eQEP) modules with support for CW/CCW operation modes
    • Embedded Pattern Generator (EPG)
  • CMAC Keys (128-bits) for SW AES
  • Diagnostic features
    • Memory Power On Self Test (MPOST)
  • Functional Safety-Compliant targeted
    • Developed for functional safety applications
    • Documentation will be available to aid ISO 26262 and IEC 61508 system design
    • Systematic capability up to ASIL D and SIL 3 targeted
    • Hardware capability up to ASIL B and SIL 2 targeted
  • Safety-related certification
    • ISO 26262 and IEC 61508 certification up to ASIL B and SIL 2 by TÜV SÜD planned
  • Package options
    • 80-pin Low-profile Quad Flatpack (LQFP) [PN suffix]
    • 64-pin LQFP [PM suffix]
    • 48-pin PowerPAD™ Thermally Enhanced Thin Quad Flatpack (HTQFP) [PHP suffix]
    • 32-pin Very Thin Quad Flatpack No-Lead (VQFN) [RHB suffix]
  • Ambient Temperature (T A) (see Device Information table and Device Comparison)
    • F280015xS, F280015xQ parts: –40°C to 125°C
    • F280015xE parts: –40°C to 150°C

Applications

  • Automotive
    • ADAS
      • Radar ECU
      • Mechanically scanning LIDAR
    • Body electronics and lighting
      • Door module
      • Trunk module
      • Window module
      • Body control module (BCM)
      • HVAC compressor module
      • HVAC control module
      • Interior heater module
      • Headlight
      • Seat comfort module
      • Seat position and fold module
      • Steering wheel control
      • DC/AC inverter
      • Mid-power DC/DC converter
  • Hybrid, Electric, Powertrain Systems
    • Battery Management System (BMS)
      • DC/DC converter
      • Inverter and motor control
      • On-board (OBC) and wireless charger
      • Vehicle Control Unit (VCU)
      • Virtual Engine Sound System (VESS)
      • Engine fan
      • eTurbo/charger
      • Pump
      • Automatic transmission
      • Electric Power Steering (EPS)
    • Infotainment and cluster
      • Head-up display
      • Telematics control unit
      • Automotive head unit
      • Aftermarket audio amplifier
      • Automotive active noise cancellation
      • Automotive external amplifier
  • Industrial
    • Motor drives
      • AC drive control module
      • AC drive power stage module
      • Servo drive control module
      • Servo drive power stage module
    • Factory automation and control
      • Mobile robot motor control
    • Telecom and server power
      • Merchant DC/DC
      • Merchant network and server PSU
      • Merchant telecom rectifiers
    • UPS
      • Three phase UPS
      • Single-phase online UPS

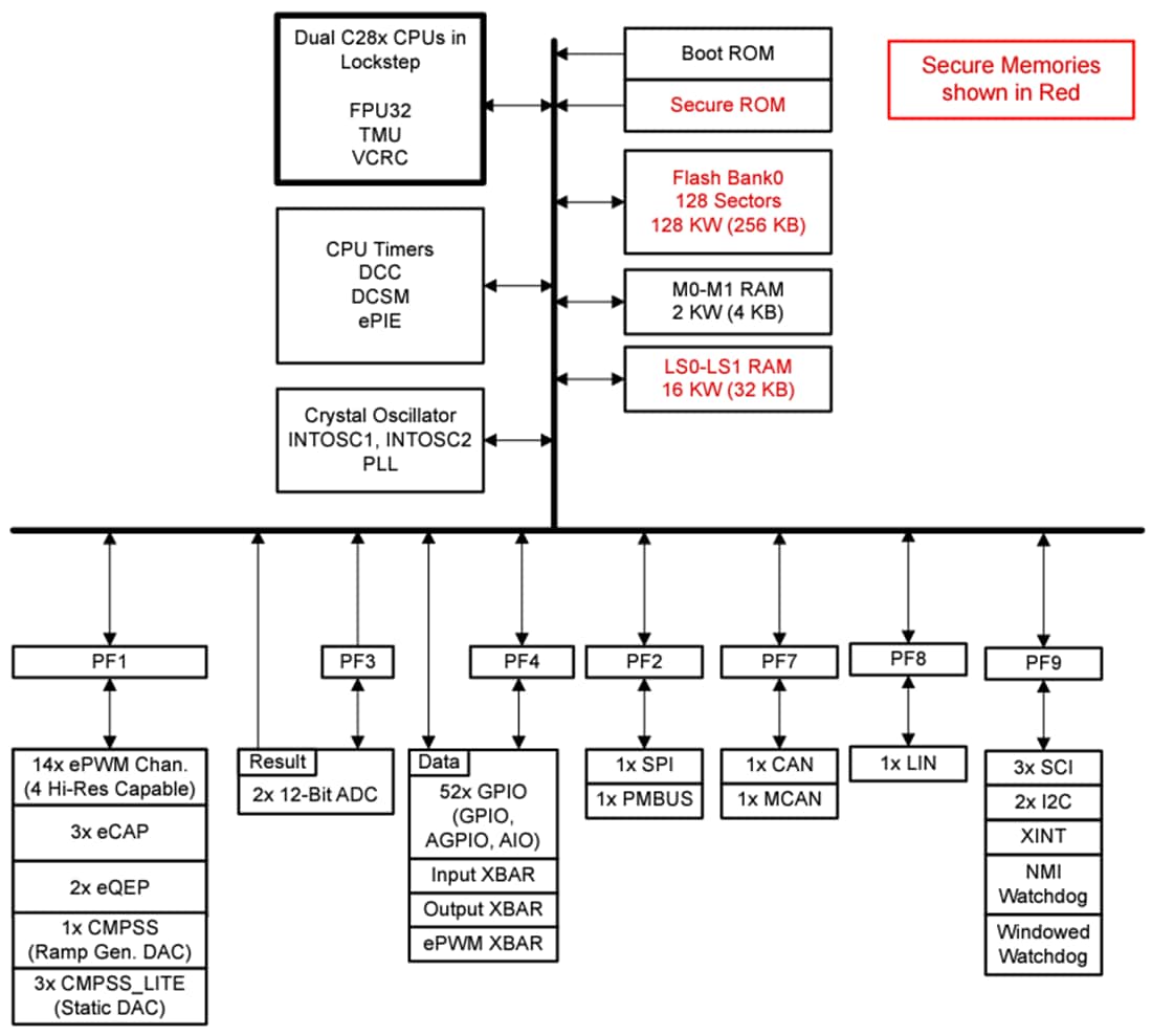
Functional Block Diagram

Block Diagram - Texas Instruments TMS320F280015x/TMS320F280015x-Q1 120MHz MCUs
發佈日期: 2023-08-03 | 更新日期: 2025-05-06