Texas Instruments TPS40345EVM-353 Evaluation Module
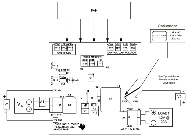
Texas Instruments TPS40345EVM-353 Evaluation Module is configured to evaluate the operation of the TPS40345. The TPS40345 is a synchronous buck converter providing a fixed 1.2V output at up to 20A from a 12V input bus. The TPS40345EVM-353 allows convenient test points for simple, non-invasive measurements of converter performance. The device implements several features, including a 600kHz switching frequency and a 20A steady-state load current. The TPS40345EVM-353 is designed to start up from a single supply, resulting in no additional bias voltage needed.Features
- 8V to 14V input voltage rating
- 1.2V ± 2% output voltage rating
- 20A steady state load current
- 600kHz switching frequency
- Simple access to IC features including power good, enable, soft-start, and error amplifier
- Convenient test points for simple, non-invasive measurements of converter performance
Setup Chart
發佈日期: 2018-11-15
| 更新日期: 2025-03-06
