Texas Instruments TSER953 4.16Gbps MIPI® CSI-2 V3Link Serializer
Texas Instruments TSER953 4.16Gbps MIPI® CSI-2 V3Link Serializer is designed to support high-speed raw data sensors. These include 2.3MP imagers at 60fps and as well as 4MP, 30fps cameras, satellite RADAR, LIDAR, and Time-of-Flight (ToF) sensors. The device delivers a 4.16Gbps forward channel and ultra-low latency, 50Mbps bidirectional control channel, and supports power over a single coax (PoC) or STP cable. The TSER953 features advanced data protection and diagnostic features to support high-speed data transmission for various applications. These applications include robotics and automation, medical imaging, and security or surveillance while streamlining design in industrial and medical camera applications. Together with a companion deserializer, the Texas Instruments TSER953 delivers precise multi-camera sensor clock and sensor synchronization.Features
- 4.16Gbps grade serializer supports high-speed sensors including full HD 1080p 2.3MP 60fps and 4MP 30fps imagers
- Low (0.25W typical) power consumption
- IEC 61000-4-2 ESD compliant
- Power-over-Coax (PoC) compatible transceiver
- D-PHY v1.2 and CSI-2 v1.3 compliant system interface
- Up to four data lanes at 832Mbps per lane
- Supports up to four virtual channels
- Advanced data protection and diagnostics, including CRC data protection, sensor data integrity check, I2C write protection, voltage and temperature measurement, programmable alarm, and line fault detection
- Precision multi-camera clocking and synchronization
- A flexible programmable output clock generator
- Supports Single-ended coaxial or shielded-twisted-pair (STP) cable
- Ultra-low latency bidirectional I2C and GPIO control channel enables ISP control from ECU
- Single 1.8V power supply
- Compatible with TDES954 and TDES960 deserializers
- –20°C to 85°C wide temperature range
- Small 5mm × 5mm VQFN package and PoC solution size for compact camera module designs
Applications
- Appliances
- Video surveillance
- Elevators and escalators
- Industrial robots
- Machine vision
- Patient monitoring and diagnostics
- Imaging
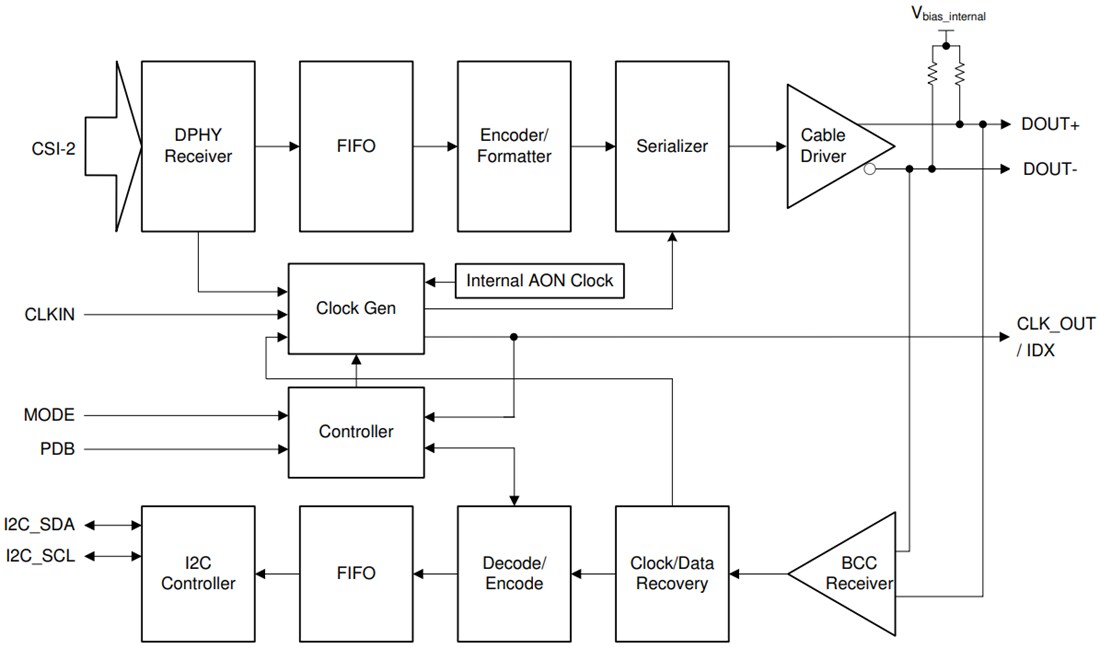
Functional Block Diagram
發佈日期: 2021-05-20
| 更新日期: 2022-03-11
