Texas Instruments UCC21737-Q1 Single-Channel Gate Driver

Texas Instruments UCC21737-Q1 Single-Channel Gate Driver is a galvanic isolated gate driver designed for SiC MOSFETs and IGBTs up to 2121V DC operating voltage with advanced protection features, best-in-class dynamic performance, and robustness. The device has up to ±10A peak source and sink currents.

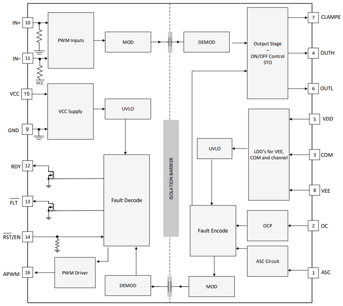
The input side is isolated from the output side with SiO2 capacitive isolation technology. This feature supports up to 1.5kVRMS working voltage and 12.8kVPK surge immunity with longer than 40 years of isolation barrier life. It also provides low part-to-part skew and > 150V/ns common-mode noise immunity (CMTI).

The Texas Instruments UCC21737-Q1 includes the state-of-art protection features, such as fast overcurrent and short circuit detection, fault reporting, and shunt current sensing support. It also has an active Miller clamp, input and output side power supply UVLO to optimize SiC and IGBT switching behavior and robustness. The ASC feature can be utilized to force the ON power switch during system failure events. This feature increases the drivers’ versatility and simplifies the system design effort, size, and cost.

Features

  • 5.7kVRMS single channel isolated gate driver
  • AEC-Q100 Qualified with the following results
    • -40°C to +150°C ambient operating temperature range (device temperature grade 0)
    • Device HBM ESD classification level 3A
    • Device CDM ESD classification level C6
  • SiC MOSFETs and IGBTs up to 2121Vpk
  • 33V maximum output drive voltage (VDD-VEE)
  • ±10A drive strength and split output
  • 150V/ns minimum CMTI
  • 270ns response time fast overcurrent protection
  • External active Miller clamp
  • 900mA soft turn-off when a fault happens
  • ASC input on the isolated side to turn on the power switch during a system fault
  • Alarm FLT on overcurrent and reset from RST/EN
  • Fast enable/disable response on RST/EN
  • Rejects < 40ns noise transient and pulse on input pins
  • 12V VDD UVLO and –3V VEE UVLO with power good on RDY
  • Inputs/outputs with over/under-shoot transient voltage immunity up to 5V
  • 130ns (maximum) propagation delay and 30ns (maximum) pulse/part skew
  • SOIC-16 DW package with creepage and clearance distance > 8mm
  • Operating junction temperature –40°C to 150°C

Applications

  • Traction inverter for EVs
  • On-board charger and charging pile
  • DC-to-DC converter for HEV/EVs

Functional Block Diagram

Block Diagram - Texas Instruments UCC21737-Q1 Single-Channel Gate Driver
發佈日期: 2022-10-14 | 更新日期: 2025-03-11