Texas Instruments MSP430F4481 / MSP430F4491 Mixed Signal MCUs

Texas Instruments MSP430F4481 and MSP430F4491 mixed-signal microcontrollers provide designers with LCD driver with up to 160 segments, two built-in 16-bit timers, one USART interface, and 48 I/O pins. TI MSP430F4481 MCUs also feature 48KB+256B Flash Memory and 2KB RAM while TI MSP430F4491 MCUs offer 60KB+256B Flash Memory and 2KB RAM. Typical applications for TI MSP430F44x1 MCUs include sensor systems that capture analog signals, convert them to digital values, and process and transmit the data to a host system or process this data and display it on a LCD panel. The timers make the configurations ideal for industrial control applications such as ripple counters, digital motor control, EE-meters, and hand-held meters. The MSP430F4481 and MSP430F4491 are part of the MSP430 family of ultralow power microcontrollers featuring a power 16-bit RISC CPU, 16-bit registers, and constant generators that contribute to maximum code efficiency.

Features

  • 1.8V to 3.6V supply voltage range
  • Ultralow-Power Consumption:
    • Active mode - 280μA at 1MHz, 2.2V
    • Standby mode - 1.1μA
    • Off mode (RAM retention) - 0.1μA
  • Five power saving modes
  • 12-Bit A/D converter with internal reference, sample-and-hold and autoscan Feature
  • Two 16-bit timers with capture/compare registers
  • Serial communication interface (USART), select asynchronous UART or synchronous SPI by software
  • Wake-up from standby mode in less than 6μs
  • Integrated LCD driver for up to 160 segments
  • Bootstrap loader
  • PLASTIC 100-PIN QFP package

Applications

  • Portable measurement
  • Industrial control:
    • Ripple counters
    • Digital motor control
    • EE-meters
    • Hand-held meters

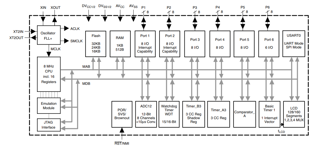
Block Diagram

Block Diagram - Texas Instruments MSP430F4481 / MSP430F4491 Mixed Signal MCUs
View Results ( 2 ) Page
零件編號 規格書 程序存儲器類型 輸入/輸出數 程序內存大小 數據匯流排寬度
MSP430F4481IPZ MSP430F4481IPZ 規格書 Flash 48 I/O 48 kB 16 bit
MSP430F4491IPZ MSP430F4491IPZ 規格書 Flash 48 I/O 60 kB 16 bit
發佈日期: 2011-05-16 | 更新日期: 2025-04-16