Toshiba TB67B000 Brushless Motor Drivers
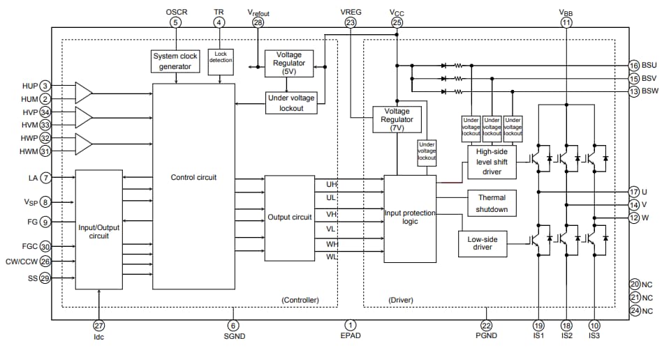
Toshiba TB67B000 Brushless Motor Drivers are high voltage 3-phase full-wave sine-wave PWM devices. These motor drivers integrate a sine-wave Pulse-Width Modulation (PWM)/commutation controller and a high-voltage driver in one package. The TB67B00 motor drivers change the speed of the motor using an analog speed control signal from a microcontroller. These motor drivers operate at a supply voltage range from 13.5V to 16.5V and a motor power supply from 50V to 450V. Toshiba TB67B00 motor drivers offer a built-in oscillator circuit, bootstrap diode, under-voltage lockout, over-current protection, thermal shutdown, and motor lock detection. These motor drivers are ideal for home appliances and industrial equipment with a maximum 500V/2A rating.Features
- Integrates a commutation controller and a high-voltage driver into a single package
- Selectable sine-wave PWM drive or wide-angle commutation drive
- IGBTs arranged in a three-phase bridge unit
- Built-in oscillator circuit
- Bootstrap circuitry
- Internal voltage regulator circuit
- Protection Schemes
- Overcurrent protection
- Thermal shutdown
- Under voltage lockout
- Motor-lock detection
Specifications
- 13.5V to 16.5V operating power supply
- 50V to 450V motor power supply
- 3.5MHz to 6.4MHz oscillation frequency
Toshiba TB67B000 Brushless Motor Drivers Block Diagram
發佈日期: 2016-08-29
| 更新日期: 2022-03-11
